LEMON Manuals: Even more car manuals for everyone: 1960-2025
Home >> Mazda >> 2005 >> MPV ES >> Repair and Diagnosis >> Body & Frame >> Door Locks >> Security System And Locks System >> Coil Removal/Installation >> Notes
April 5, 2026: LEMON Manuals is launched! Read the announcement.

Coil Removal/Installation: Notes

NOTE:
  • Do not remove the coil unless you are replacing it.
  • When only the coil is replaced, the immobilizer system reprogram procedure is not necessary.
  1. Disconnect the negative battery cable.
  2. Remove the column cover.
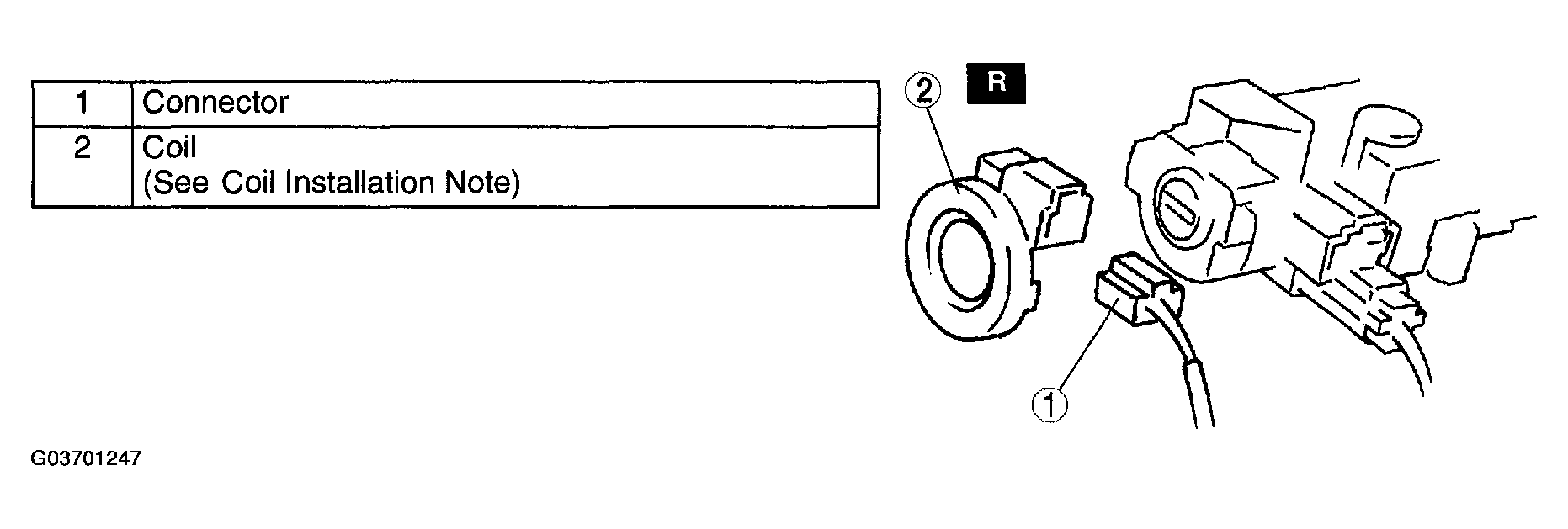
  3. Remove in the order indicated in the table.
    Fig 1: Removing Coil
    G03701247Courtesy of MAZDA MOTORS CORP.
  4. Install in the reverse order of removal.