LEMON Manuals: Even more car manuals for everyone: 1960-2025
Home >> Mazda >> 2005 >> MPV ES >> Repair and Diagnosis >> External Pages >> Different car >> Section 249 (Entertainment System) >> Accessory Socket Removal/Installation >> Cap Removal Note
April 5, 2026: LEMON Manuals is launched! Read the announcement.

Cap Removal Note

WARNING: This page is about a different car, the 2004 Mazda RX-8. However, it is still accessible from the selected car via links, so may be relevant.
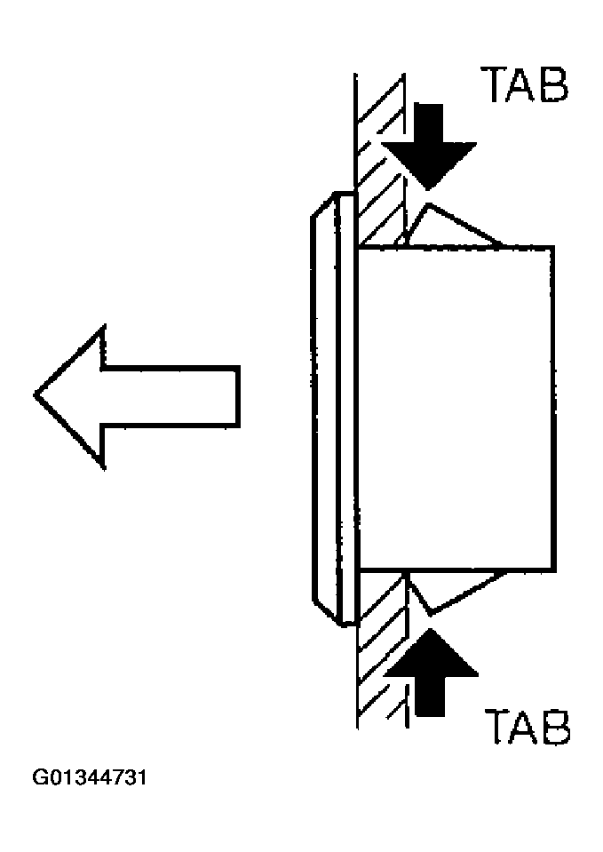
  1. While pressing the tabs, pull the cap outwards.
    Fig 1: Pulling Ring Outward While Pressing Tabs
    G01344731Courtesy of MAZDA MOTORS CORP.