LEMON Manuals: Even more car manuals for everyone: 1960-2025
Home >> Mazda >> 2006 >> MPV ES >> Repair and Diagnosis >> Engine Performance >> System >> On-Board Diagnostic [Engine Control System (AJ)] >> DTC P0462 >> Notes
April 5, 2026: LEMON Manuals is launched! Read the announcement.

DTC P0462: Notes

DTC P0462 [AJ] DETECTION CONDITION AND POSSIBLE CAUSES

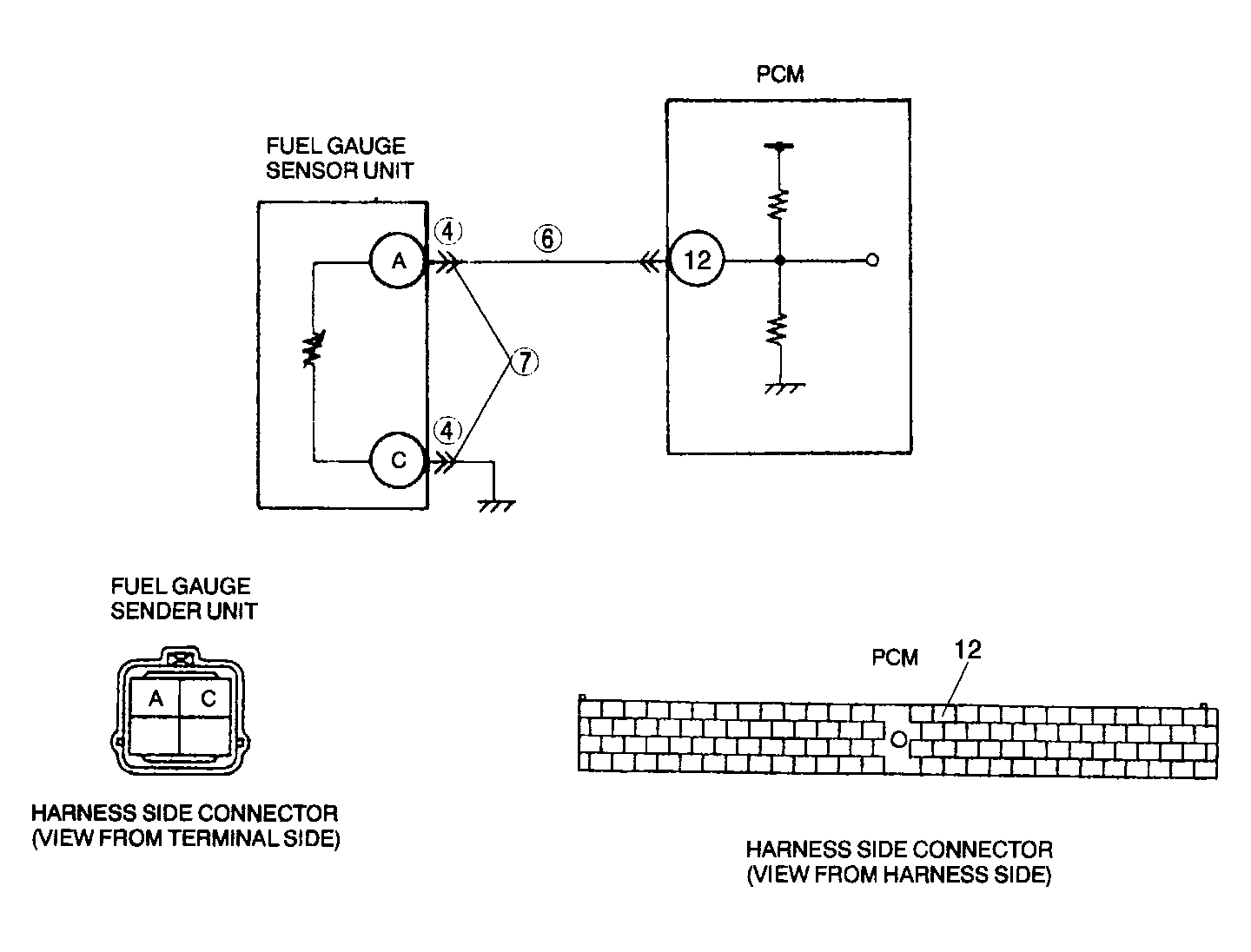
DTC P0462 Fuel gauge sender unit circuit low input
DETECTION CONDITION 
  • The PCM monitors the voltage of the fuel gauge sender unit. If the PCM detects PCM terminal 12 voltage below 0.1 V  for 5 seconds  , the PCM determines that the fuel gauge sender unit circuit has a malfunction.

Diagnostic support note 

  • This is a continuous monitor (CCM).
  • The MIL illuminates if the PCM detects the above malfunction condition in two consecutive drive cycles or in one drive cycle while the DTC for the same malfunction has been stored in the PCM.
  • PENDING CODE is available if the PCM detects the above malfunction condition during the first drive cycle.
  • FREEZE FRAME DATA is available.
  • DTC is stored in the PCM memory.
POSSIBLE CAUSE 
  • Fuel gauge sender unit malfunction
  • Connector or terminal malfunction
  • Short to ground circuit between fuel gauge sender unit terminal A and PCM terminal 12
  • Short circuit between fuel level signal circuit and fuel gauge sender unit ground circuit
  • PCM malfunction
G04327936Courtesy of MAZDA MOTORS CORP.