LEMON Manuals: Even more car manuals for everyone: 1960-2025
Home >> Mazda >> 2006 >> MPV ES >> Repair and Diagnosis >> Engine Performance >> System >> On-Board Diagnostic [Engine Control System (AJ)] >> DTC P0550 >> Notes
April 5, 2026: LEMON Manuals is launched! Read the announcement.

DTC P0550: Notes

DTC P0550 [AJ] DETECTION CONDITION AND POSSIBLE CAUSES

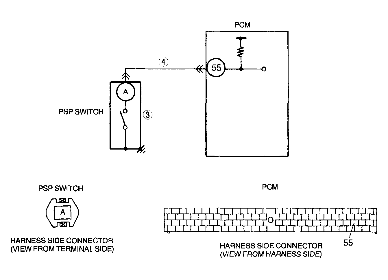
DTC P0550 PSP switch circuit malfunction
DETECTION CONDITION 
  • The PCM monitors PSP switch signal at PCM terminal 55. If input voltage is low voltage (switch stays on) for 1 minute when the VSS is above 60.1 km/h {37.3 mph}  and ECT is above 60 °C {140 °F}  , the PCM determines that PSP switch circuit has malfunction.

Diagnostic support note 

  • This is a continuous monitor (CCM).
  • The MIL illuminates if the PCM detects the above malfunction condition in two consecutive drive cycles or in one drive cycle while the DTC for the same malfunction has been stored in the PCM.
  • PENDING CODE is available if the PCM detects the above malfunction condition during the first drive cycle.
  • FREEZE FRAME DATA is available.
  • DTC is stored in PCM memory.
POSSIBLE CAUSE 
  • PSP switch malfunction
  • Connector or terminal malfunction
  • Short to ground between PSP switch terminal and PCM terminal 55
  • PCM malfunction
G04327942Courtesy of MAZDA MOTORS CORP.