LEMON Manuals: Even more car manuals for everyone: 1960-2025
Home >> Mazda >> 2006 >> MPV ES >> Repair and Diagnosis >> Engine Performance >> System >> On-Board Diagnostic [Engine Control System (AJ)] >> DTC P2145 >> Notes
April 5, 2026: LEMON Manuals is launched! Read the announcement.

DTC P2145: Notes

DTC P2145 [AJ] DETECTION CONDITION AND POSSIBLE CAUSES

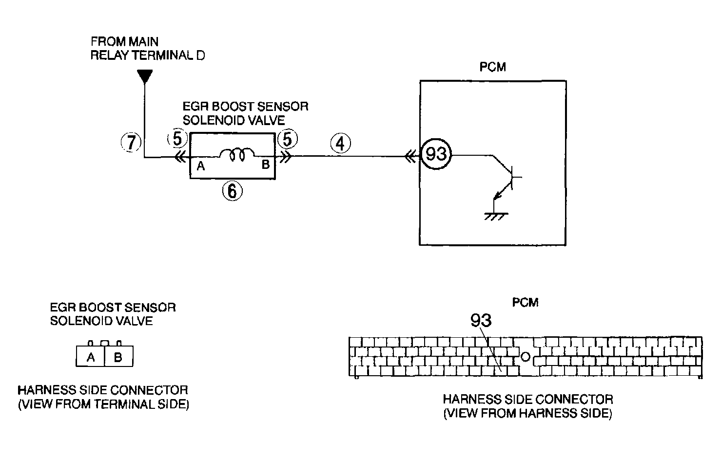
DTC P2145 EGR boost sensor solenoid valve circuit malfunction
DETECTION CONDITION 
  • The PCM monitors the EGR boost sensor solenoid valve control signal. If PCM turns the EGR boost sensor solenoid valve on but voltage still remains high, the PCM determines that the EGR boost sensor solenoid valve circuit has malfunction.

Diagnostic support note 

  • This is a continuous monitor (CCM).
  • The MIL illuminates if the PCM detects the above malfunction condition in two consecutive drive cycles or in one drive cycle while the DTC for the same malfunction has been stored in the PCM.
  • PENDING CODE is available if the PCM detects the above malfunction condition during the first drive cycle.
  • FREEZE FRAME DATA is available.
  • DTC is stored in the PCM memory.
POSSIBLE CAUSE 
  • EGR boost sensor solenoid valve malfunction
  • Connector or terminal malfunction
  • Short to power supply in wiring between EGR boost sensor solenoid valve terminal B and PCM terminal 93
  • PCM malfunction
G04327948Courtesy of MAZDA MOTORS CORP.