LEMON Manuals: Even more car manuals for everyone: 1960-2025
Home >> Mazda >> 2006 >> MX-5 Miata Base >> Repair and Diagnosis >> Body & Frame >> Door Locks >> Security System And Locks System (Advanced Keyless System) >> Immobilizer System Component Replacement/Key Addition And Clearing [With Advanced Keyless System] >> No. 3 PCM Replacement Procedure >> Procedure
April 5, 2026: LEMON Manuals is launched! Read the announcement.

No. 3 PCM Replacement Procedure: Procedure

Fig 1: Identifying Keys
G04323561Courtesy of MAZDA MOTORS CORP.
  1. Prepare two or more keys to be programmed after the key ID number clearing.
  2. Connect the WDS or equivalent to the DLC-2. (See WDS OR EQUIVALENT CONNECTING PROCEDURE  .)
  3. Using key 1, turn the ignition switch to the ON position.
    NOTE:
    • Although the security light flashes and DTC 15 or 21 is displayed, this does not indicate an improper procedure. Continue to perform the procedure as indicated.
  4. Verify that the keyless warning light illuminates for approx. 3 s  , and then goes out.
  5. Select "BODY/SECURITY/PATS (immobilizer) function" from the menu.
  6. Perform the security access according to the direction of the WDS or equivalent screen. (See SECURITY ACCESS PROCEDURE  .)
  7. Select "Parameter Reset" from the WDS or equivalent screen menu.
  8. After verifying that the PATS function menu is displayed again on the WDS or equivalent screen, select "Finish (this menu)" to finish the WDS or equivalent procedure.
  9. After Step  8, wait 5 s or more  , and then turn the ignition switch to the LOCK position.
  10. Using key 1, turn the ignition switch to the ON position.
  11. After verifying that the security light and keyless warning light illuminates for 3 s or more  turn the ignition switch to the LOCK position and remove key 1.
    NOTE:
    • Although the security light flashes and DTC 21 is displayed, this does not indicate an improper procedure. Continue to perform the procedure as indicated.
  12. Using key 2, turn the ignition switch to the ON position.
  13. Verify that the security light and keyless warning light illuminates for approx. 3 s  , and then goes out.
  14. After verifying that the security light goes out, turn the ignition switch to the LOCK position using key 2, and then remove key 2.
  15. If an additional key needs to be programmed, repeat Steps  13 thru  14 with the additional key being key 3. If the ignition switch is held in the ON position for 1 min or more  , the additional key programming procedure according to Steps  13 thru  14 will not be possible. If this occurs, refer to NO.1 ADDITIONAL KEY PROGRAMMING PROCEDURE (USING TWO VALID KEYS)  to register any additional keys.
  16. Start the engine with the key 1.
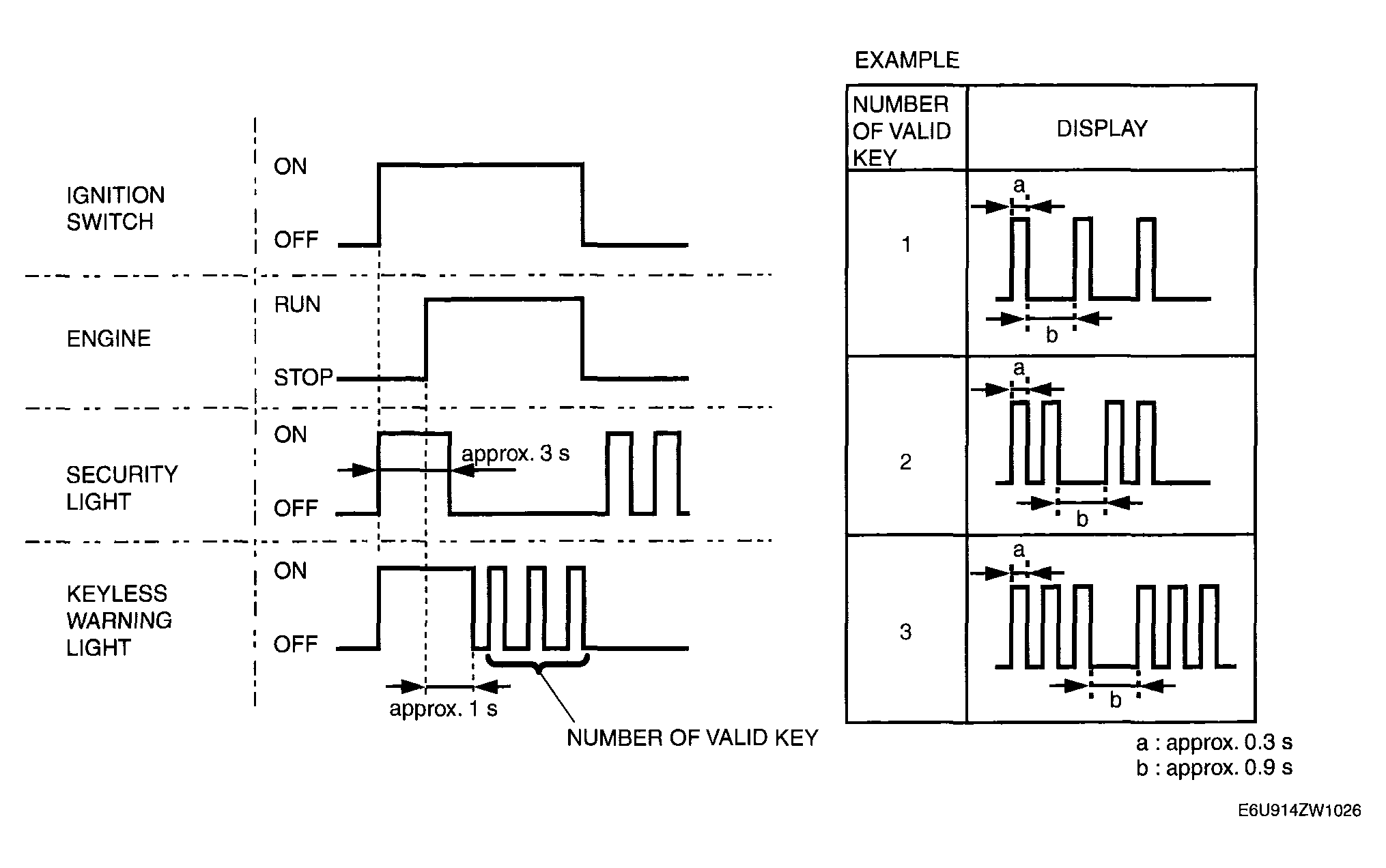
  17. Verify that the security light and keyless warning light operate as follows:
    • From the point when the ignition switch is turned to the ON position, the security light illuminates for approx. 3 s  and goes out.
    • The keyless warning light illuminates with the ignition switch turned to the ON position, and after approx. 1 s  after the engine is started, it goes out and displays the number of programmed keys.
    Fig 2: Security Light & Keyless Warning Light Blinking Pattern
    G04323562Courtesy of MAZDA MOTORS CORP.
  18. After verifying that the keyless warning light goes out, turn the ignition switch to the LOCK position using key 1.
  19. Repeat Steps  17 thru  18 using key 2 instead of key 1.
    NOTE:
    • Perform Steps  17 thru  18 as well when there are three or more programmed keys.
  20. Start the engine with the card key and remove any key from the key cylinder.
    CAUTION:
    • Remove any key from the key cylinder.
  21. Verify that the security light and keyless warning light operate as follows:
    • From the point when the ignition switch is turned to the ON position, the security light illuminates for approx. 3 s  , and goes out.
    • The keyless warning light illuminates when the ignition switch is turned to the ON position, and after approx. 1 s  after the engine is started, it goes out.
  22. Turn the ignition switch to the LOCK position after verifying that the keyless warning light goes out.