LEMON Manuals: Even more car manuals for everyone: 1960-2025
Home >> Mazda >> 2007 >> 3 i, 2.0 F, Automatic >> Repair and Diagnosis >> Engine Performance >> Engine Control Systems >> Engine Control System (LF, L3) >> Pcm Removal/Installation
April 5, 2026: LEMON Manuals is launched! Read the announcement.

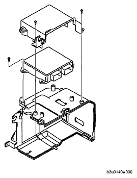
Pcm Removal/Installation

  1. When replacing the PCM, perform the following:
  2. Remove the battery cover, battery duct, battery and battery tray with PCM. (See BATTERY REMOVAL/INSTALLATION [LF, L3] .)
  3. Disconnect the PCM connector.
  4. Remove the PCM from the battery tray.
  5. When replacing the PCM on the vehicles, perform the following:
  6. Install in the reverse order of removal.
    Fig 1: Removal/Installation Of PCM
    G04955192Courtesy of MAZDA MOTORS CORP.