LEMON Manuals: Even more car manuals for everyone: 1960-2025
Home >> Mazda >> 2007 >> 6 Mazdaspeed >> Repair and Diagnosis >> Engine Performance >> System >> On-Board Diagnostic [Engine Control System L3 With TC] >> DTC P0850 >> Notes
April 5, 2026: LEMON Manuals is launched! Read the announcement.

DTC P0850: Notes

DTC P0850 DETECTION CONDITION AND POSSIBLE CAUSES

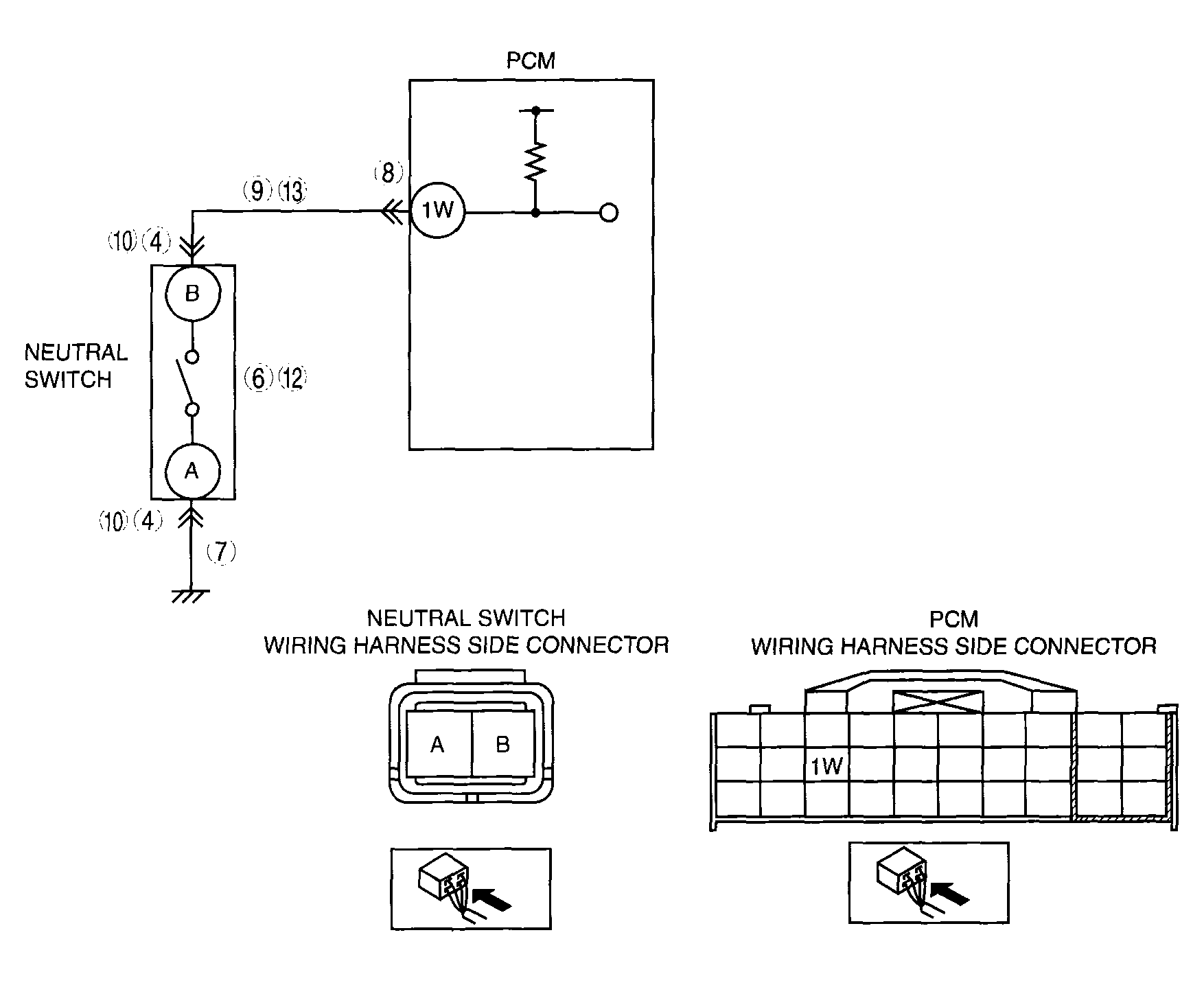
DTC P0850 Neutral switch circuit malfunction
DETECTION CONDITION 
  • PCM monitors changes in the input voltage from the neutral switch. If the PCM does not detect the voltage change while driving the vehicle at a speed above 30 km/h {19 mph}  and the clutch pedal is depressed and released 10 times  repeatedly, the PCM determines that the neutral switch circuit has a malfunction.

Diagnostic support note 
  • This is a continuous monitor (CCM).
  • MIL illuminates if the PCM detects the above malfunction condition in two consecutive drive cycles or in one drive cycle while the DTC for the same malfunction has been stored in the PCM.
  • PENDING CODE is available if the PCM detects the above malfunction condition during the first drive cycle.
  • FREEZE FRAME DATA is available.
  • DTCs are stored in PCM memory.
POSSIBLE CAUSE 
  • Neutral switch malfunction
  • Poor connection of the neutral switch connector or PCM connector
  • Short to ground between neutral switch terminal B and PCM connector terminal 1W
  • Open circuit in the wiring harness between neutral switch terminal B and PCM connector terminal 1W
  • Open circuit in the wiring harness between ground and brake switch terminal A.
  • PCM malfunction
G04324132Courtesy of MAZDA MOTORS CORP.