LEMON Manuals: Even more car manuals for everyone: 1960-2025
Home >> Mazda >> 2007 >> Mazdaspeed3 L4-2.3L Turbo >> Repair and Diagnosis >> Powertrain Management >> Relays and Modules - Powertrain Management >> Relays and Modules - Computers and Control Systems >> Engine Control Module >> Service and Repair
April 5, 2026: LEMON Manuals is launched! Read the announcement.

Engine Control Module: Service and Repair

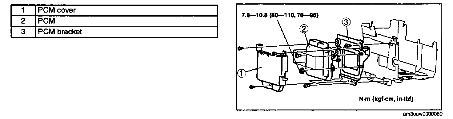
PCM REM0VAL/INSTALLATI0N[L3 WITH TC]

NOTE: For PCM replacement, set up the M-MDS and perform the PCM configuration. (See PCM CONFIGURATION - WITH TC].)

1. Remove the battery cover.
2. Disconnect the negative battery cable.
3. Disconnect the PCM connector.
4. When replacing the PCM on the vehicles, perform the following.
- PCM parameter reset (See IMMOBILIZER SYSTEM COMPONENT REPLACEMENT/KEY ADDITION AND CLEARING.)




5. Install in the reverse order of removal.