LEMON Manuals: Even more car manuals for everyone: 1960-2025
Home >> Mazda >> 2010 >> CX-7 AWD L4-2.3L Turbo >> Repair and Diagnosis >> Powertrain Management >> Transmission Control Systems >> Relays and Modules - Transmission and Drivetrain >> Relays and Modules - A/T >> Control Module >> Service and Repair >> TCM Removal/Installation - FS5A-EL
April 5, 2026: LEMON Manuals is launched! Read the announcement.

TCM Removal/Installation - FS5A-EL




TCM REMOVAL/INSTALLATION [FS5A-EL]

1. Disconnect the negative battery cable.

2. Remove the dashboard under cover (LH). Dashboard Under Cover Removal/Installation

3. Remove the front scuff plate (LH). Front Scuff Plate Removal/Installation

4. Remove the front side trim (LH). Front Side Trim Removal/Installation

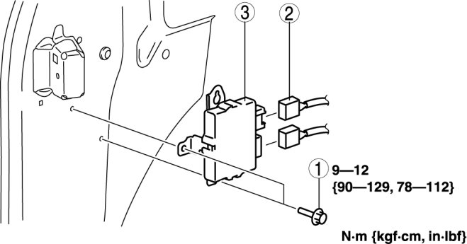
5. Remove in the order indicated in the table.










6. Install in the reverse order of removal.

TCM Removal Note

1. Remove the TCM in the direction of the arrow shown in the figure.