LEMON Manuals: Even more car manuals for everyone: 1960-2025
Home >> Mazda >> 2012 >> 6 s Touring Plus >> Repair and Diagnosis (Single Page) >> Accessories & Equipment >> Entertainment Systems >> On-Board Diagnostic [Auto Light/Wiper Control Module) >> DTC B1318 [Auto Light/Wiper Control Module] >> Vehicles With Advanced Keyless Entry and Push Button Start System
April 5, 2026: LEMON Manuals is launched! Read the announcement.

Vehicles With Advanced Keyless Entry and Push Button Start System

DESCRIPTION Battery voltage low
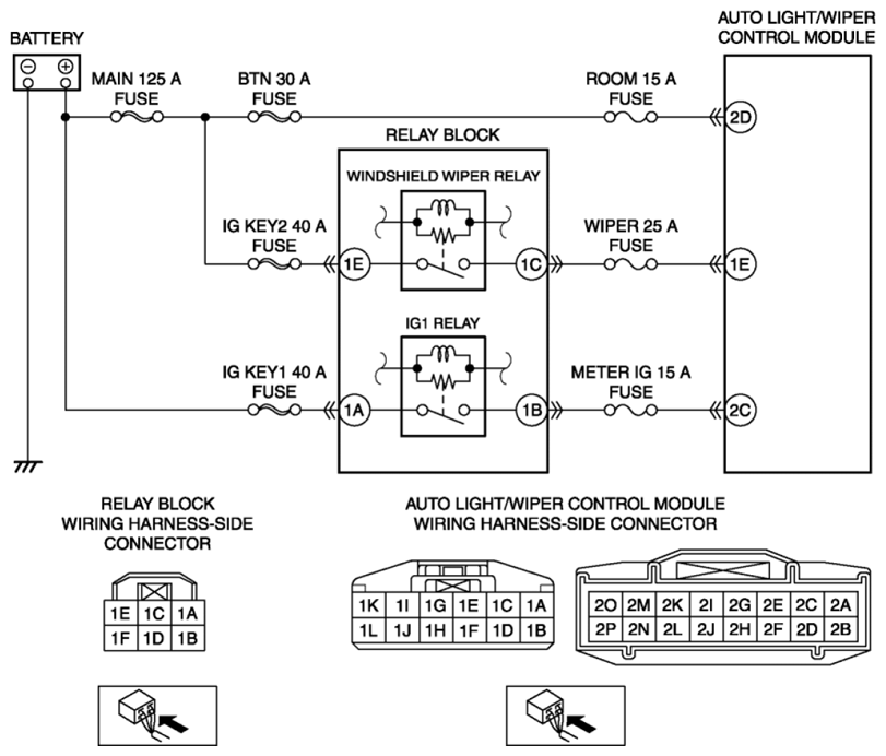
DETECTION CONDITION  Input voltage from the battery is excessively low
POSSIBLE CAUSE 
  • Fuse malfunction
  • Battery malfunction
  • Generator malfunction
  • Connector or terminal malfunction
  • Relay block malfunction
  • Short to ground or open circuit in wiring harness between positive battery terminal and auto light/wiper control module terminal 2D
  • Short to ground or open circuit in wiring harness between positive battery terminal and relay block terminal 1E
  • Short to ground or open circuit in wiring harness between positive battery terminal and relay block terminal 1A
  • Short to ground in wiring harness between relay block terminal 1C and auto light/wiper control module terminal 1E
  • Short to ground in wiring harness between relay block terminal 1B and auto light/wiper control module terminal 2C
  • Open circuit in wiring harness between relay block terminal 1C and auto light/wiper control module terminal 1E
  • Open circuit in wiring harness between relay block terminal 1B and auto light/wiper control module terminal 2C
  • Auto light/wiper control module malfunction
G08144001