LEMON Manuals: Even more car manuals for everyone: 1960-2025
Home >> Mazda >> 2012 >> 6 s Touring Plus >> Repair and Diagnosis >> External Pages >> Different car >> Section 584 (Security System And Locks System) >> Keyless Receiver Removal/Installation
April 5, 2026: LEMON Manuals is launched! Read the announcement.

Keyless Receiver Removal/Installation

WARNING: This page is about a different car, the 2009 Mazda 6. However, it is still accessible from the selected car via links, so may be relevant.
  1. Disconnect the negative battery cable.
  2. Remove the glove compartment. (See GLOVE COMPARTMENT REMOVAL/INSTALLATION .)
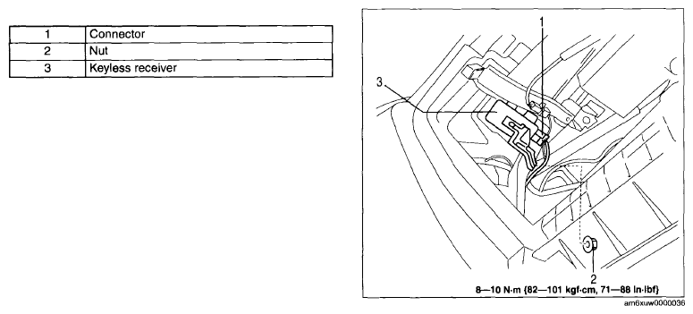
  3. Remove in the order indicated in the table.
  4. Fig 1: Keyless Receiver, Connector And Nut With Torque Specifications
    G06200948Courtesy of MAZDA MOTORS CORP.
  5. Install in the reverse order of removal.