LEMON Manuals: Even more car manuals for everyone: 1960-2025
Home >> Mazda >> 2013 >> CX-5 Touring, FWD >> Repair and Diagnosis >> Engine Performance >> System >> Symptom Troubleshooting [Engine Control System] >> No.14 Poor Fuel Economy >> Notes
April 5, 2026: LEMON Manuals is launched! Read the announcement.

No.14 Poor Fuel Economy: Notes

DESCRIPTION & POSSIBLE CAUSE

14  POOR FUEL ECONOMY 
DESCRIPTION 
  • Fuel economy is unsatisfactory.
POSSIBLE CAUSE 
  • Engine cooling system malfunction
  • PCM DTC is stored
  • Erratic signal to PCM
    • APP sensor or related circuit malfunction
    • ECT sensor No.1 or related circuit malfunction
    • IAT sensor No.1 (integrated in MAF sensor/IAT sensor No.1) or related circuit malfunction
    • MAF sensor or related circuit malfunction
    • MAP sensor or related circuit malfunction
    • TP sensor or related circuit malfunction
    • Intermittent open or short circuit MAF sensor, APP sensor, TP sensor
  • Improper operation of cooling fan control system
  • Improper operation of A/C system
  • Incorrect fuel injection timing
  • Fuel injector malfunction
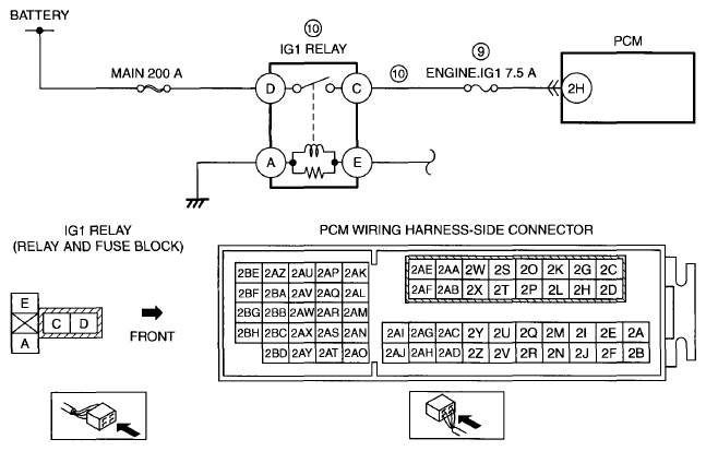
  • Short to power supply in wiring harness between IG1 relay terminal C and PCM terminal 2H
  • Contaminated air cleaner element
  • Air leakage or restriction in intake-air system
  • Poor fuel quality
  • Improper coolant level
  • Clutch slippage (MTX)
  • Improper ATF level (ATX)
  • Brake dragging
  • Tire air pressure malfunction
  • Vacuum leakage
  • Fuel leakage
  • Contamination in MAF sensor
  • Tires, wheels (large size)
  • Change of intake air system components and exhaust system components
  • Engine operation time is longer than traveled distance
    • Vehicle is driven in congested traffic frequently
    • Left idling for long periods
  • Amount of fuel injection increases
    • Overloaded
    • Frequent acceleration/deceleration
    • Frequently driving on ascending roads
    • Travel distance per one drive is short (amount of time for warm-up is long during engine operation)
    • Improper load signal input
      • Improper A/C request signal
  • Driver forgets to switch electronic device off
  • Electronic device is frequently used with engine stopped (no power generation)
  • Vehicle left undriven for long periods
  • Large amount of parasitic draw (especially after-market electronic devices)
  • Erratic or no signal from CMP sensor
    • Loose installation
    • Damaged trigger wheel (intake camshaft and/or exhaust camshaft)
    • Open or short circuit in related wiring harness
  • Erratic signal from CKP sensor
    • Loose installation
    • Damaged trigger wheel (crankshaft pulley)
    • Open or short circuit in related wiring harness
  • Inadequate fuel pressure (high-pressure side)
    • Fuel pressure sensor malfunction
    • High pressure fuel pump malfunction
    • Spill valve control solenoid valve control circuit malfunction (damage to driver in PCM caused by short circuit to ground system)
    • Spill valve control solenoid valve (built-into high pressure fuel pump) malfunction
    • Relief valve (built-into high pressure fuel pump) malfunction
    • Fuel line restricted or clogged
    • Fuel pump unit malfunction
  • Improper engine compression
  • Improper intake valve timing due to timing chain jumping
  • Improper exhaust valve timing due to timing chain jumping
  • Spark plug malfunction
  • Exhaust system and/or TWC restriction
  • PCV valve malfunction
  • Injector driver (built-into PCM) malfunction
    WARNING: The following troubleshooting flow chart contains the fuel system diagnosis and repair procedures. Read the following warnings before performing the fuel system services:
    • Fuel vapor is hazardous. It can easily ignite, causing serious injury and damage. Always keep sparks and flames away from fuel.
    • Fuel line spills and leakage are dangerous. Fuel can ignite and cause serious injury or death and damage. Fuel can also irritate skin and eyes. To prevent this, always complete "BEFORE SERVICE PRECAUTION" and "AFTER SERVICE PRECAUTION" described in this manual. (See BEFORE SERVICE PRECAUTION ). (See AFTER SERVICE PRECAUTION ).
    CAUTION:
    • Disconnecting/connecting the quick release connector without cleaning it may possibly cause damage to the fuel pipe and quick release connector. Always clean the quick release connector joint area before disconnecting/connecting, and make sure that it is free of foreign material.
G09074067
CAUTION:
  • Verify the malfunction symptom according to not only the PID value but also the symptom troubleshooting.
RELATED PIDs DESCRIPTION

Monitor item (Definition) Unit/Condition Condition/Specification (Reference)
APP1 %
  • Accelerator pedal released: approx. 16 % 
  • Accelerator pedal depressed: approx. 80 % 
V
  • Accelerator pedal released: approx. 0.8 V 
  • Accelerator pedal depressed: approx. 4 V 
APP2 %
  • Accelerator pedal released: approx. 8 % 
  • Accelerator pedal depressed: approx. 40 % 
V
  • Accelerator pedal released: approx. 0.4 V 
  • Accelerator pedal depressed: approx. 2 V 
ECT °C, °F
  • Displays the ECT
V
  • ECT is 20°C {68°F}: approx. 3.10 V 
  • ECT is 40°C {104°F}: approx. 2.16 V 
  • ECT is 60°C {140°F}: approx. 1.40 V 
  • ECT is 80°C {176°F}: approx. 0.87 V 
  • ECT is 100°C {212°F}: approx. 0.54 V 
IAT °C, °F
  • Displays the IAT (No. 1)
V
  • IAT is 20°C {68°F}: approx. 2.64 V 
  • IAT is 40°C {104°F}: approx. 1.80 V 
  • IAT is 60°C {140°F}: approx. 1.14 V 
MAF g/sec
  • Displays the MAF
V
  • Switch the ignition to ON (MAF: 0.59 g/s {0.078 lb/min}): approx. 0.72 V 
  • Idle (after warm up) (MAF: 2.17 g/s {0.287 lb/min}): approx. 0.86 V 
  • Racing (engine speed is 2,000 rpm  ) (MAF: 4.73 g/s {0.626 lb/min}): approx. 1.07 V 
MAP KPa {MPa}, mBar {Bar}, psi, in H20
  • Displays the MAP
V
  • Switch the ignition to ON (MAP: 101 kPa {1.03 kgf/cm 2  , 14.6 psi}): approx. 4.07 V 
  • Idle (after warm up) (MAP: 33 kPa {0.34 kgf/cm 2  , 4.8 psi}): approx. 1.34 V 
  • Racing (engine speed is 2,000 rpm  ) (MAP: 26 kPa {0.27 kgf/cm 2  , 3.8 psi}): approx. 1.05 V 
TP REL %
  • Accelerator pedal released: approx. 12 % 
  • Accelerator pedal depressed: approx. 82 % 
AC_REQ OFF/ON
  • A/C switch OFF: Off
  • A/C switch ON: On
FUEL_PRES KPa {MPa}, mBar {Bar}, psi, in H20
  • Displays the fuel pressure
V
  • Fuel pressure is 3.0 MPa {31 kgf/cm 2  , 435 psi}: approx. 0.92 V 
  • Fuel pressure is 4.8 MPa {49 kgf/cm 2  , 696 psi}: approx. 1.17 V 
LOAD %
  • Idle (after warm up): approx. 16.07 % 
  • Racing (engine speed is 2,000 rpm  ): approx. 14.51 % 
  • Racing (engine speed is 4,000 rpm  ): approx. 21.17 %