LEMON Manuals: Even more car manuals for everyone: 1960-2025
Home >> Mazda >> 2014 >> MX-5 Miata Club, Automatic Trans >> Repair and Diagnosis >> Brakes >> Traction Control >> Dynamic Stability Control System >> Combined Sensor Inspection
April 5, 2026: LEMON Manuals is launched! Read the announcement.

Combined Sensor Inspection

  1. Turn the ignition switch to the LOCK position.
  2. Connect the M-MDS to the DLC-2.
    Fig 1: DLC-2
    G06151222Courtesy of MAZDA MOTORS CORP.
  3. Select the following PIDs, then inspect the lateral acceleration speed and the yaw rate.
    • LAT_ACCL: (lateral acceleration speed)
    • YAW_RATE: (yaw rate)
    1. Lateral acceleration speed inspection
      1. Verify the LAT_ACCL change when the combined sensor is tilted to the left and right.
        • If there is any malfunction, replace the combined sensor.

      Standard 

      When the sensor is tilted to the right (A): 

      LAT_ACCL changes negatively. 

      When the sensor is tilted to the left (B): 

      LAT_ACCL changes positively. 

      Fig 2: Combined Sensor
      G06151347Courtesy of MAZDA MOTORS CORP.
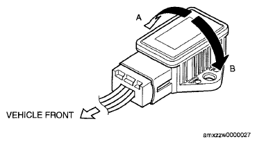
    2. Yaw rate inspection
      1. Verify the YAW_RATE change when the combined sensor is rotated to the left and right.
        • If there is any malfunction, replace the combined sensor.

      Standard 

      When the sensor is rotated to the right (A): 

      YAW_RATE changes negatively. 

      When the sensor is rotated to the left (B): 

      YAW_RATE changes positively. 

      Fig 3: Combined Sensor
      G06151347Courtesy of MAZDA MOTORS CORP.