LEMON Manuals: Even more car manuals for everyone: 1960-2025
Home >> Mazda >> 2015 >> 3 SV, Automatic Trans >> Repair and Diagnosis (Single Page) >> Quick Lookups >> Wiring Diagrams >> OEM Connector End Views >> Connector End Views >> Seat Weight Sensor Control Module Connector End View
April 5, 2026: LEMON Manuals is launched! Read the announcement.

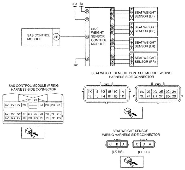
Seat Weight Sensor Control Module Connector End View

Fig 1: Seat Weight Sensor Control Module Connector End View
G09783465Courtesy of MAZDA MOTORS CORP.


Fig 1: Seat Weight Sensor Control Module Connector End View
G09783464Courtesy of MAZDA MOTORS CORP.