LEMON Manuals: Even more car manuals for everyone: 1960-2025
Home >> Mazda >> 2017 >> 5 GS, Automatic Trans >> Repair and Diagnosis >> Body & Frame >> Windows >> Glass/Windows/Mirrors >> Windshield Installation
April 5, 2026: LEMON Manuals is launched! Read the announcement.

Windshield Installation

WARNING:
  • Using a utility knife with bare hands can cause injury. Always wear gloves when using a utility knife.
CAUTION:
  • If a door is opened or closed when all the window glass is closed, the resulting change in air pressure could cause the sealant to crack preventing the proper installation of the glass. Keep the door glass opened until the windshield installation is completed.
  1. Remove the sealant along the perimeter of the glass using a utility knife. (When reusing the glass)
  2. Clean and degrease an approx. 50 mm {2.0 in} wide strip along the perimeter of the windshield.
  3. Inspect the glass for cracks. If it is cracked, chamfer it using sandpaper.
  4. Align the marks made before removal and install the pin to the windshield referring to the figure. (when reusing the glass, and the pin was removed)
    G13728031Courtesy of MAZDA MOTORS CORP.
  5. Install the windshield molding.
    G13728032Courtesy of MAZDA MOTORS CORP.
  6. Use glass primer on the glass, then allow it to dry for approx. 30 min.
    CAUTION:
    • To prevent weakening of the primer adhesion, keep the bonding surface free of dirt, moisture, and grease. Do not touch the surface with your hand.
    NOTE:
    • Make sure to apply primer to the hollowed marks in the ceramic coating.
    G13728033Courtesy of MAZDA MOTORS CORP.
  7. Cut away the old sealant using a utility knife so that 12 mm {0.47 in} thickness of sealant remains along the perimeter of the frame.
    G11275167Courtesy of MAZDA MOTORS CORP.
  8. If the sealant has come off completely in any one place, apply some primer after degreasing, and allow it approx. 30 min to dry. Then apply 2 mm {0.08 in} thickness of new sealant.
    CAUTION:
    • To prevent weakening of the primer adhesion, keep the bonding surface free of dirt, moisture, and grease. Do not touch the surface with your hand.
  9. Clean and degrease along the perimeter of the bonding area on the body.
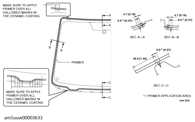
  10. Apply body primer on the body as shown in the figure, then allow it to dry for approx. 30 min.
    CAUTION:
    • To prevent weakening of the primer adhesion, keep the bonding surface free of dirt, moisture, and grease. Do not touch the surface with your hand.
    NOTE:
    • Apply primer to the hollowed marks in the ceramic coating.
    G13728035Courtesy of MAZDA MOTORS CORP.
  11. Apply sealant to the area of the glass surface as shown in the figure.
    G13728036Courtesy of MAZDA MOTORS CORP.
  12. Insert the windshield locator pins to the body and install the windshield.
  13. Verify that the clearance of the A-pillar is within the range shown in the figure, and press along the perimeter of the glass.
    G13728037Courtesy of MAZDA MOTORS CORP.
  14. Install the headliner.
  15. Install the following parts:
    1. Assist handle (See ASSIST HANDLE REMOVAL/INSTALLATION .)
    2. A-pillar trim (See A-PILLAR TRIM REMOVAL/INSTALLATION .)
    3. Map light (See MAP LIGHT REMOVAL/INSTALLATION .)
    4. Sunvisor (See SUNVISOR REMOVAL/INSTALLATION .)
    5. Rearview mirror (See REARVIEW MIRROR REMOVAL .)
    6. Rain sensor (See RAIN SENSOR REMOVAL/INSTALLATION .)
    7. Cowl panel (See COWL PANEL REMOVAL/INSTALLATION .)
    8. Cowl grille (See COWL GRILLE REMOVAL/INSTALLATION .)
    9. Windshield wiper arm and blade (See WINDSHIELD WIPER ARM AND BLADE REMOVAL/INSTALLATION .)
  16. Allow the sealant to harden completely.

    Sealant hardening time: 24 h

  17. Connect the negative battery cable.