LEMON Manuals: Even more car manuals for everyone: 1960-2025
Home >> Mazda >> 2021 >> CX-3 AWD >> Repair and Diagnosis >> Engine Performance >> System >> On-Board Diagnostic - Engine Control (2 Of 5) >> DTC P025D-00: Fuel Pump Control Module Result Of On-Board Diagnostic Test High Input >> Without Coolant Control Valve
April 5, 2026: LEMON Manuals is launched! Read the announcement.

Without Coolant Control Valve

DTC P025D:00 DETECTION CONDITION AND POSSIBLE CAUSE

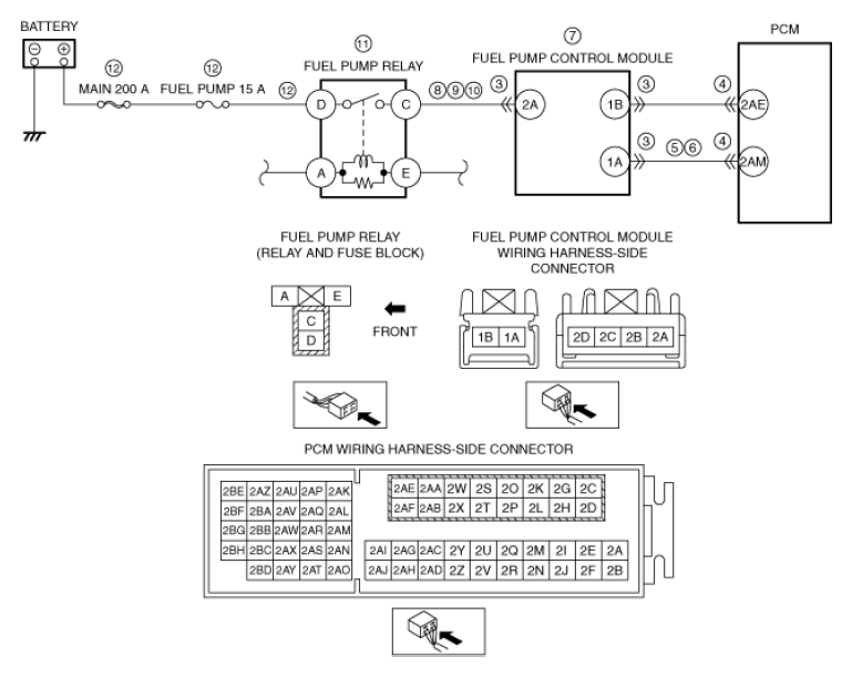
DTC P025D:00 Fuel pump control module result of on-board diagnostic test high input
DETECTION CONDITION
  • Result of on-board test cannot be received from fuel pump control module (voltage is too high).
Diagnostic support note 
  • This is a continuous monitor (CCM).
  • The check engine light does not illuminate.
  • FREEZE FRAME DATA is not available.
  • Snapshot data is available.
  • DTC is stored in the PCM memory.
FAIL-SAFE FUNCTION
  • Not applicable
POSSIBLE CAUSE
  • Fuel pump control module connector or terminals malfunction
  • PCM connector or terminals malfunction
  • Short to power supply in wiring harness between fuel pump control module terminal 1A and PCM terminal 2AM
  • Open circuit in wiring harness between fuel pump control module terminal 1A and PCM terminal 2AM
  • Fuel pump control module malfunction
  • Short to ground in wiring harness between fuel pump relay terminal C and fuel pump control module terminal 2A
  • Short to power supply in wiring harness between fuel pump relay terminal C and fuel pump control module terminal 2A
  • Open circuit in wiring harness between fuel pump relay terminal C and fuel pump control module terminal 2A
  • Fuel pump relay malfunction
  • Short to ground or open circuit in fuel pump relay power supply circuit:
    • Short to ground in wiring harness between battery positive terminal and fuel pump relay terminal D
    • MAIN 200 A fuse and/or FUEL PUMP 15 A fuse malfunction
    • Open circuit in wiring harness between battery positive terminal and fuel pump relay terminal D
  • PCM malfunction
G13148799Courtesy of MAZDA MOTORS CORP.