LEMON Manuals: Even more car manuals for everyone: 1960-2025
Home >> Mazda >> 2021 >> CX-5 Signature >> Repair and Diagnosis >> External Pages >> Different car >> Section 152 (On-Board Diagnostic - Adaptive Front Lighting System Control Module) >> DTC U3003:16 [Adaptive Front Lighting System (AFS) Control Module] >> Notes
April 5, 2026: LEMON Manuals is launched! Read the announcement.

DTC U3003:16 [Adaptive Front Lighting System (AFS) Control Module]: Notes

WARNING: This page is about a different car, the 2017 Mazda CX-5. However, it is still accessible from the selected car via links, so may be relevant.
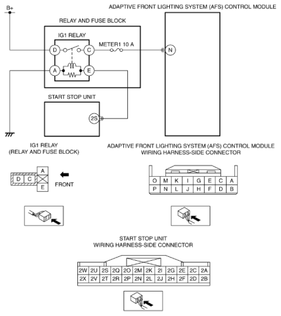
DTC U3003:16 (ADAPTIVE FRONT LIGHTING SYSTEM (AFS) CONTROL MODULE) DETECTION CONDITION & POSSIBLE CAUSE

Description Adaptive front lighting system (AFS) control module low power supply voltage input
Detection condition
  • Adaptive front lighting system (AFS) control module power supply circuit voltage of 9 V or less is detected for 5 s or more with the ignition switched ON (engine off or on).
Fail-safe
  • The swivel actuator is stopped at the position when the malfunction is determined.
  • The headlight leveling actuator is stopped at the position when the malfunction is determined.
Possible cause
  • DTCs are stored in the PCM.
  • Battery malfunction
  • Generator malfunction
  • Adaptive front lighting system (AFS) control module connector or terminal malfunction
  • Adaptive front lighting system (AFS) control module power supply circuit malfunction
    • Short to ground in wiring harness between METER1 10 A fuse and adaptive front lighting system (AFS) control module terminal N
    • METER1 10 A fuse malfunction
      • Open circuit in wiring harness between IG1 relay terminal C and adaptive front lighting system (AFS) control module terminal N
  • Adaptive front lighting system (AFS) control module malfunction
G11432100