LEMON Manuals: Even more car manuals for everyone: 1960-2025
Home >> Mercedes Benz >> 1986 >> 560SL >> Repair and Diagnosis >> Engine Performance >> System >> Air Injection System >> Operation
April 5, 2026: LEMON Manuals is launched! Read the announcement.

Air Injection System: Operation

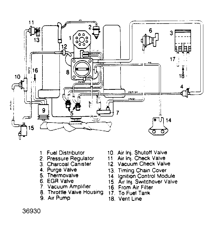
The signal for engaging and disengaging the air pump originates in the control unit and is routed via the air injection relay to the air pump.

Air injection occurs for a maximum of 60 seconds under the following conditions: coolant temperatures above 58°F (17°C) after starting, engine speeds below 2500 RPM, full load contact not engaged and lambda control operating.

Under these conditions, control unit energizes the electro-magnetic clutch of the air pump via the air injection relay. Simultaneously, the same relay energizes the switchover valve which in turn provides vacuum to the air injection shutoff valve. The air pump draws air from the air filter and delivers it to the exhaust ports in the cylinder head via the air injection shutoff valve, the check valve and the passages in the timing chain housing cover and the cylinder block.

The air injected from the air pump promotes oxidation of CO and HC in the catalyst. The heat created by the oxidation brings the catalyst to its operating condition quicker.

Fig 1: Air Injection System
G36930