LEMON Manuals: Even more car manuals for everyone: 1960-2025
Home >> Mercedes Benz >> 1988 >> 190D >> Repair and Diagnosis >> Engine Performance >> System >> Fuel Injection System - Diesel >> Testing >> Trimming Plug
April 5, 2026: LEMON Manuals is launched! Read the announcement.

Trimming Plug

NOTE: Trimming plug is installed in position "4".
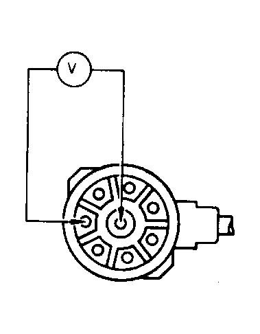
  1. With engine off, disconnect trimming plug from socket. Steering should be in lock "2" position. Connect multimeter and set to volt scale. Probe and check voltage as shown. See Fig 1 . Voltage reading should be 5 volts.
  2. If voltage reading is to specification, replace trimming plug. Testing is complete. If voltage reading is not to specification, repair open circuit. If no open circuit is found, replace EDS control unit.
Fig 1: Trimming Plug
G62428Courtesy of MERCEDES-BENZ OF NORTH AMERICA.