Roll bar (RB), function - GF91.59-P-0001KA: Notes
Models 208.435 /444 /445 /447 /448 /465 /470
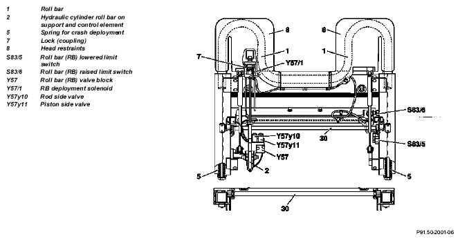
The roll bar serves to protect the vehicle occupants in the event of an accident (vehicle rollover) from severe injuries.
Essentially the roll bar system comprises of the following components/assemblies:
- Roll bar (RB)/soft top operation control module (N52))
- RB switch (manual operation, S83) with integrated malfunction indicator lamp
- Roll bar (RB) lowered limit switch (S83/5)
- Roll bar (RB) raised limit switch (S83/6)
- Roll bar (RB) deployment solenoid (Y57/1)
- Roll bar (RB) and soft top operation hydraulic unit (A7/5)
- Roll bar (RB) valve block (Y57)
- rod side valve (Y57y10)
- piston side valve (Y57y11)
- Hydraulic cylinder for lowering/raising roll bar at support and control element
The roll bar is:
- automatically raised where there is a risk of an accident (crash deployment ),
- is raised and lowered when S83 is manually actuated (manual actuation ),
- automatically raised and lowered when operating the soft top.
All roll bar functions are controlled by N52 . A malfunction indicator lamp is integrated for system function check and state display purposes in the S83 .
In manual actuation a hydraulic cylinder on the support and control element generates (2) the force required to raise and lower the roll bar. The motor (A7/5m1) of the hydraulic unit (A7/5) generates the necessary system pressure.
In the event of a crash deployment a pre-tensioned spiral-coiled spring will supply the required raising force. In this case, the roll bar's hydraulic system acts passively, in order to ensure that maximum operating safety is given.
In order to prevent any tilting over of the roll bar during lowering/raising operations, a synchronizer shaft (30) has been fitted, which runs on both sides in a gearing via a pinion gear.
Crash deployment has priority over manual actuation, i.e. a crash deployment can take place even during manual actuation.
| Roll bar manual actuation, function | GF91.59-P-2000KA | ||
| Roll bar crash deployment, function | GF91.59-P-2001KA | ||
| Roll bar hydraulics, function | GF91.53-P-3000KA | ||
| Roll bar system malfunction indicator lamp control, function | GF91.59-P-3000KA | ||
| Locking of roll bar actuating element, function | GF91.50-P-3000KA | ||
| Roll bar/soft top operation control module, location/task/design/function | GF77.39-P-3100KA | ||
| Roll bar actuation (manual operation) switch, location/task/design/function | GF91.59-P-2100KA | ||
| Roll bar/soft top operation hydraulic unit, location/task/design/function | GF77.30-P-3100KA | ||
| Roll bar valve block, location/task/design/ function | GF91.53-P-2200KA | ||
| Roll bar deployment solenoid, location/task/ design/function | GF91.59-P-2104KA | ||
| Roll bar raised limit switch, location/task/ design/function | GF91.59-P-2101KA | ||
| Roll bar lowered limit switch, location/task/ design/function | GF91.59-P-2102KA |