LEMON Manuals: Even more car manuals for everyone: 1960-2025
Home >> Mercedes Benz >> 2003 >> SLK32 >> Repair and Diagnosis >> Engine Performance >> Ignition System >> Mixture Formation -- Basic Knowledge -- 170 Chassis >> Basic Knowledge >> Fuel injector, location/task/design/function - GF07.03-P-5004F
April 5, 2026: LEMON Manuals is launched! Read the announcement.

Fuel injector, location/task/design/function - GF07.03-P-5004F

ENGINE 104 (except 104.98) 

ENGINE 111 

ENGINE 112 (except 112.96) 

ENGINE 113 (except 113.99) 

ENGINE 119 (except 119.96) 

ENGINE 120 

ENGINE 137 

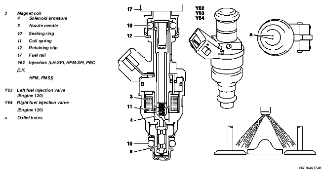
Structure (the engines shown are engines 119, 120) 

Fig 1: Fuel Injector Function Diagram - Structure (Engines Shown Are Engines 119, 120)
G04736488

IMPORTANT

The diameter and number of the outlet bore holes are adjusted to the fuel requirements of the engine.

  Fuel injector, location At cylinder head  
  Fuel injector, task Spraying the fuel onto the injectors in the form a finely atomized spray  
  Fuel injection valve structure/function When energizing the magnet coil (3) the nozzle needle (5) is lifted above the solenoid armature (4) against the coil spring (11) by approx. 0.1 mm and the fuel flows out of the holes. Actuation of the fuel injection valves occurs over correspondingly long earth impulses from the engine control unit, power supply from terminal 87.