LEMON Manuals: Even more car manuals for everyone: 1960-2025
Home >> Mercedes Benz >> 2007 >> SL55 >> Repair and Diagnosis (Single Page) >> Accessories & Equipment >> Cruise Control Systems >> Throttle Control, Speed Control Systems - 230 Chassis >> Basic Knowledge >> DTR control unit, location/task/design/function - GF30.30-P-3104K >> Notes
April 5, 2026: LEMON Manuals is launched! Read the announcement.

DTR control unit, location/task/design/function - GF30.30-P-3104K: Notes

ENGINES 112, 113, 137, 275, 613, 628 in MODEL 220 up to 31.5.04 with CODE (219a) Distronic (DTR) 

ENGINES 113, 137, 275 in MODEL 215 up to 31.5.04 with CODE (219a) Distronic (DTR) 

ENGINES 112, 113, 275 in MODEL 230 up to 31.5.04 with CODE (219a) Distronic (DTR) 

ENGINES 112, 113, 271, 646, 647, 648 in MODEL 211 up to 31.5.04 with CODE (219a) Distronic (DTR) 

ENGINES 112, 113, 271, 612 in MODEL 209 up to 31.5.04 with CODE (219a) Distronic (DTR) 

ENGINE 285 in MODEL 240 with CODE (219a) Distronic (DTR) 

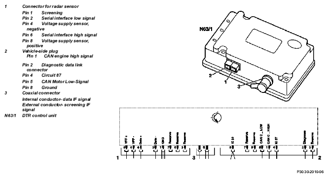
Fig 1: Identifying DTR Control Unit With Connectors
G04733091Courtesy of MERCEDES-BENZ USA
  DTR control unit, location Under the floor/step plate, always mounted on the passenger side (left-hand and right-hand drive vehicles). GF30.30-P-3104-01K 
  Task of the DTR control unit Uses the data from the radar sensor and the other input signal over CAN to detect vehicles ahead and determine the necessary control interventions (reduce/increase engine torque, braking, gear changes). Controls displays and the warning signal.  
  Design of the DTR control unit Ventilated metal housing with two 8-pin connectors and one coaxial connector for the RF cable from the radar sensor. Voltage supply secured from terminal 87.  
  Function of the DTR control unit The analog radar sensor data is filtered and digitized. The speed, distance, angle and lane of detected objects are determined and compared with the speed of the driver's own vehicle. This is how a vehicle ahead is detected.