LEMON Manuals: Even more car manuals for everyone: 1960-2025
Home >> Mercury >> 1980 >> Bobcat Base, Automatic Trans >> Repair and Diagnosis >> Engine Performance >> Engine Control Systems >> Vacuum Diagrams >> Calibration Number Identification
April 5, 2026: LEMON Manuals is launched! Read the announcement.

Calibration Number Identification

To identify the calibration number of an engine, find the engine code label at front of rocker arm cover on 4 and 6 cylinder engines, or on front of right valve cover and side of left valve cover on V8 engines. Determine calibration number from label using example illustrated. Use engine size, model and calibration number to find proper diagram from this index.

NOTE: Some calibration numbers are carried over from 7979; these will have the number "9" as the first digit. All other codes should begin with "0", indicating 1980 models.
NOTE: See 1980 Emission Control Application tables for a list of abbreviations used on Ford Motor Co. vacuum diagrams.
Fig 1: Exhaust Emission Decal
G09343116Courtesy of FORD MOTOR CO.
Fig 2: Engine Code Label
G09343117Courtesy of FORD MOTOR CO.
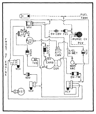
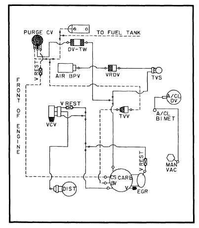
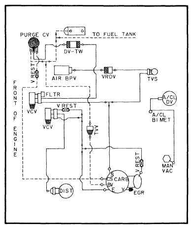
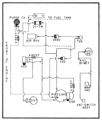
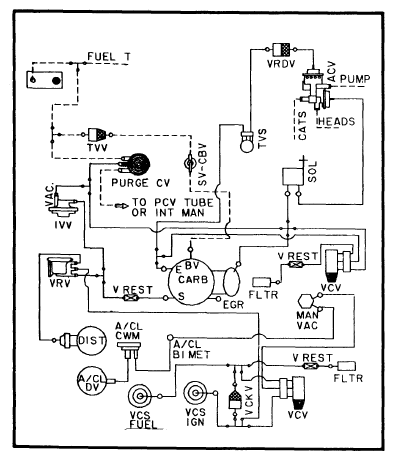
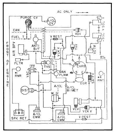
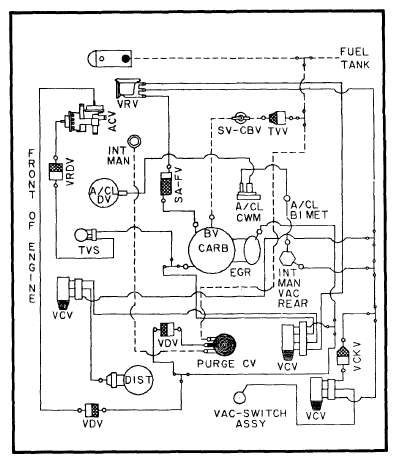
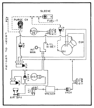
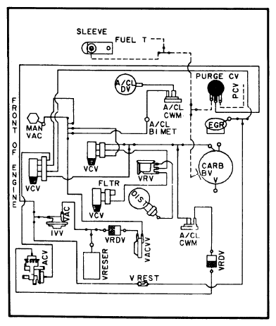
Fig 3: Calibration 9-21B-R10; 2.3L; Federal
G09343118Courtesy of FORD MOTOR CO.
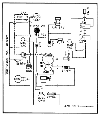
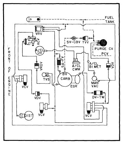
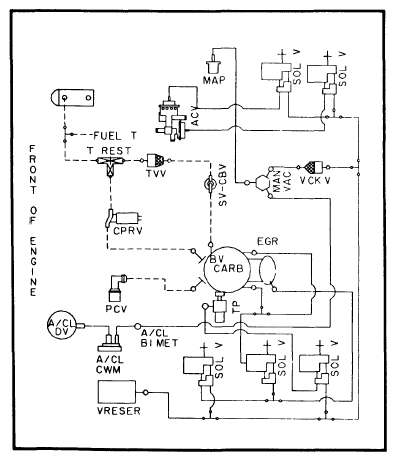
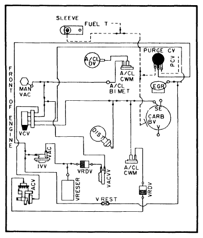
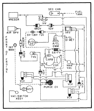
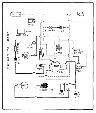
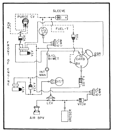
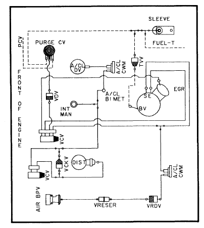
Fig 4: Calibration 0-1B-R0; 2.3L; Federal (Except Pinto and Bobcat)
G09343119Courtesy of FORD MOTOR CO.
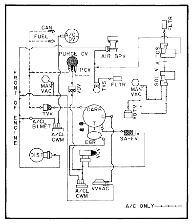
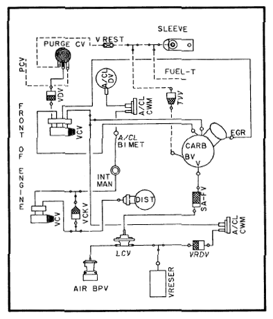
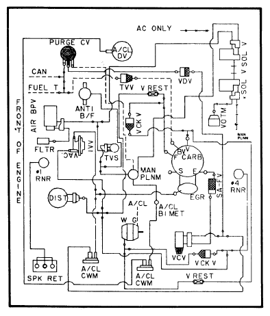
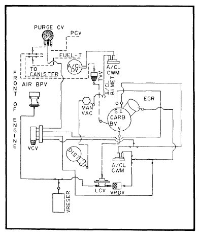
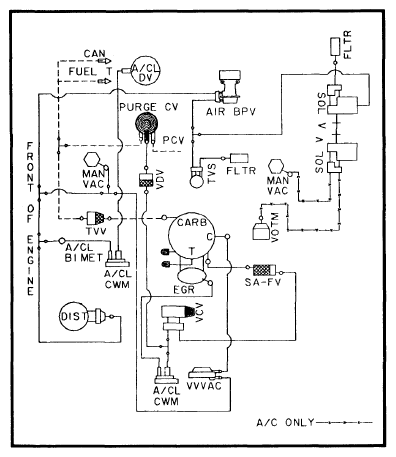
Fig 5: Calibration 0-1B-R0; 2.3L; Federal (Pinto and Bobcat)
G09343120Courtesy of FORD MOTOR CO.
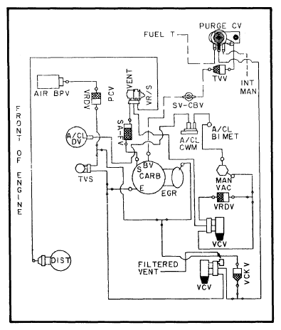
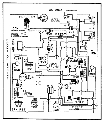
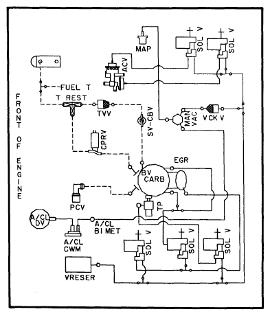
Fig 6: Calibration 0-1B-R0, 0-1B-R11, 0-1B-R12; Federal (Except Pinto and Bobcat)
G09343121Courtesy of FORD MOTOR CO.
Fig 7: Calibration 0-1G-R0, 0-1G-R11, 0-1G-R12; 2.3L, Federal
G09343122Courtesy of FORD MOTOR CO.
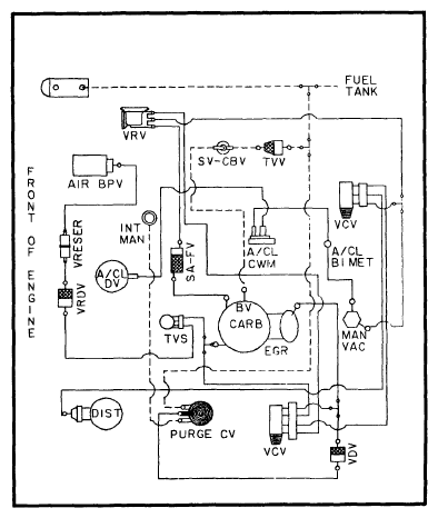
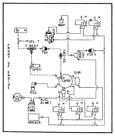
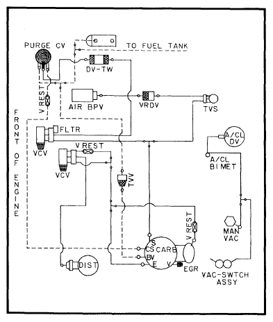
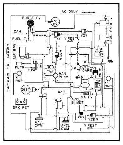
Fig 8: Calibration 0-1H-R10, 0-1H-R15; 2.3L; Federal
G09343123Courtesy of FORD MOTOR CO.
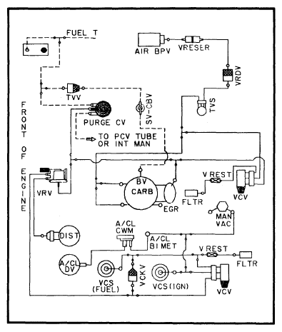
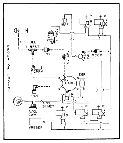
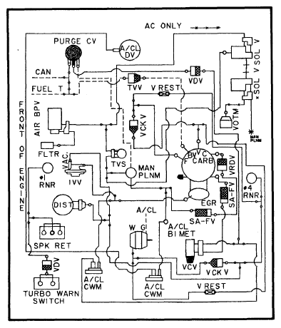
Fig 9: Calibration 0-1S-R11, 0-1H-R20; 2.3L; Federal
G09343124Courtesy of FORD MOTOR CO.
Fig 10: Calibration 0-1P-R0; 2.3L; Calif. (Pinto and Bobcat)
G09343125Courtesy of FORD MOTOR CO.
Fig 11: Calibration 0-1P-R0; 2.3L; Calif. (Except Pinto and Bobcat)
G09343126Courtesy of FORD MOTOR CO.
Fig 12: Calibration 0-1S-R0, 0-1S-R11; 2.3L; Calif.
G09343127Courtesy of FORD MOTOR CO.
Fig 13: Calibration 0-1S-R10; 2.3L; Calif.
G09343128Courtesy of FORD MOTOR CO.
Fig 14: Calibration 0-2B-R0, 0-2C-R0; 2.3L; Federal (Pinto and Bobcat W/A/C)
G09343129Courtesy of FORD MOTOR CO.
Fig 15: Calibration 0-2B-R0, 0-2C-R0; 2.3L; Federal (Pinto and Bobcat W/out A/C)
G09343130Courtesy of FORD MOTOR CO.
Fig 16: Calibration 0-2B-R0, 0-2C-R0; 2.3L; Federal (Fairmont and Zephyr W/out A/C)
G09343131Courtesy of FORD MOTOR CO.
Fig 17: Calibration 0-2B-R0; 2.3L; Federal (Fairmont and Zephyr W/A/C)
G09343132Courtesy of FORD MOTOR CO.
Fig 18: Calibration 0-2C-R0; 2.3L; Federal (Mustang and Capri W/A/C)
G09343133Courtesy of FORD MOTOR CO.
Fig 19: Calibration 0-2C-R10; 2.3L; Federal (Pinto and Bobcat)
G09343134Courtesy of FORD MOTOR CO.
Fig 20: Calibration 0-2C-R10; 2.3L; Federal (Except Pinto and Bobcat)
G09343135Courtesy of FORD MOTOR CO.
Fig 21: Calibration 0-2E-R0; 2.3L; Federal
G09343136Courtesy of FORD MOTOR CO.
Fig 22: Calibration 0-2E-R10; 2.3L; Calif.
G09343137Courtesy of FORD MOTOR CO.
Fig 23: Calibration 0-2S-R0; 2.3L; Calif.
G09343138Courtesy of FORD MOTOR CO.
Fig 24: Calibration 0-2T-R0, 0-2T-R10; 2.3L Calif. (Pinto and Bobcat)
G09343139Courtesy of FORD MOTOR CO.
Fig 25: Calibration 0-2T-R0, 0-2T-R10; 2.3L; Calif. (Except Pinto and Bobcat)
G09343140Courtesy of FORD MOTOR CO.
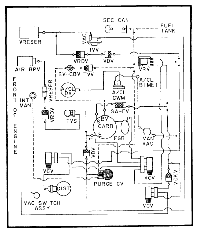
Fig 26: Calibration 0-21A-R0, 0-21B-R0; 2.3L; Federal (Pinto and Bobcat)
G09343141Courtesy of FORD MOTOR CO.
Fig 27: Calibration 0-21A-R0; 2.3L; Federal (Except Pinto and Bobcat)
G09343142Courtesy of FORD MOTOR CO.
Fig 28: Calibration 9-21B-R0; 2.3L; Federal (Fairmont and Zephyr)
G09343143Courtesy of FORD MOTOR CO.
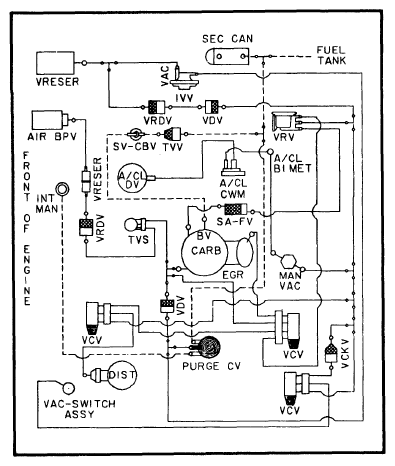
Fig 29: Calibration 0-21B-R0; 2.3L; Federal (Pinto and Bobcat)
G09343144Courtesy of FORD MOTOR CO.
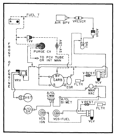
Fig 30: Calibration 0-21B-R10; 2.3L; Federal
G09343145Courtesy of FORD MOTOR CO.
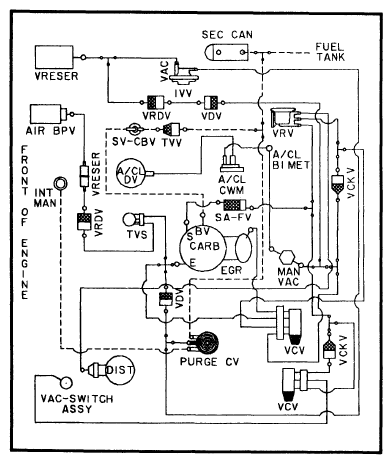
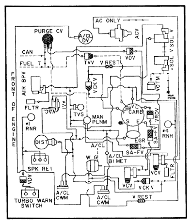
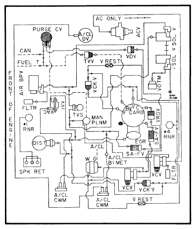
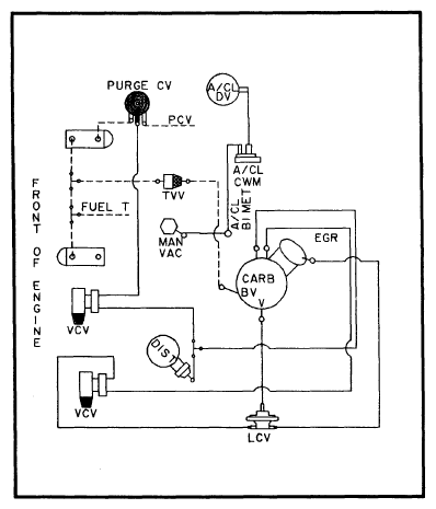
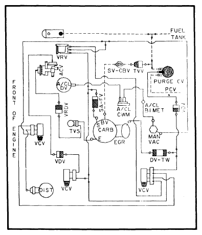
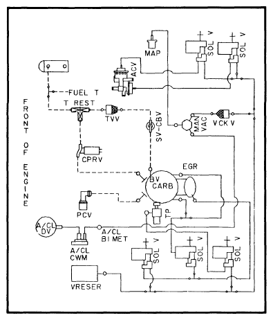
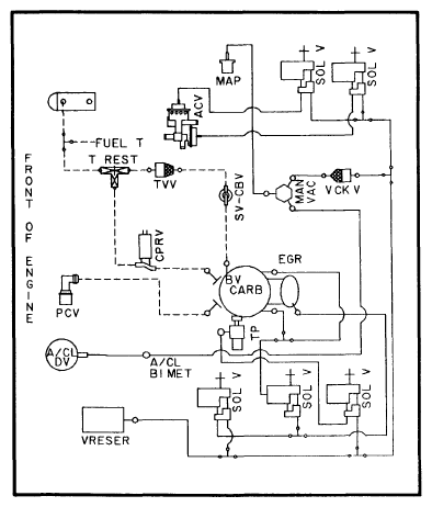
Fig 31: Calibration 0-6A-R0; 200"; Federal
G09343146Courtesy of FORD MOTOR CO.
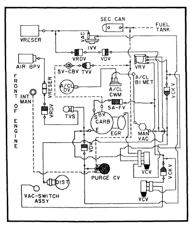
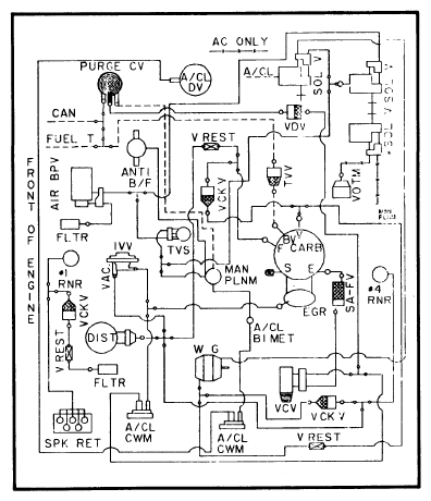
Fig 32: Calibration 0-6A-R1; 200"; Federal
G09343147Courtesy of FORD MOTOR CO.
Fig 33: Calibration 0-7A-R0; 200"; Federal
G09343148Courtesy of FORD MOTOR CO.
Fig 34: Calibration 0-7P-R10; 200"; Calif. (W/A/C)
G09343149Courtesy of FORD MOTOR CO.
Fig 35: Calibration 0-7P-R10; 200"; Calif. (W/out A/C)
G09343150Courtesy of FORD MOTOR CO.
Fig 36: Calibration 0-7P-R11; 200"; Calif.
G09343151Courtesy of FORD MOTOR CO.
Fig 37: Calibration 0-7P-R11; 200"; Calif. (Alternate)
G09343152Courtesy of FORD MOTOR CO.
Fig 38: Calibration 0-7Q-R1; 200"; Calif. (W/A/C)
G09343153Courtesy of FORD MOTOR CO.
Fig 39: Calibration 0-7Q-R1; 200"; Calif. (W/out A/C)
G09343154Courtesy of FORD MOTOR CO.
Fig 40: Calibration 0-27A-R3, 0-27A-R10; 200", Federal
G09343155Courtesy of FORD MOTOR CO.
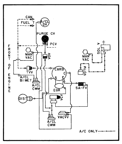
Fig 41: Calibration 0-8A-R0; 250"; Federal
G09343156Courtesy of FORD MOTOR CO.
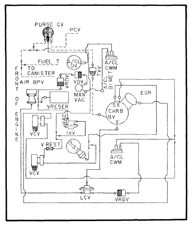
Fig 42: Calibration 0-9A-R0; 250"; Federal
G09343157Courtesy of FORD MOTOR CO.
Fig 43: Calibration 0-29A-R0; 250"; Federal
G09343158Courtesy of FORD MOTOR CO.
Fig 44: Calibration 0-16A-R0; 255"; Federal
G09343159Courtesy of FORD MOTOR CO.
Fig 45: Calibration 0-16A-R12; 255"; Federal
G09343160Courtesy of FORD MOTOR CO.
Fig 46: Calibration 0-16C-R0; 255"; Federal
G09343161Courtesy of FORD MOTOR CO.
Fig 47: Calibration 0-16C-R13, 0-16C-R15, 0-16C-R18, 0-16C-R19; 255"; All
G09343162Courtesy of FORD MOTOR CO.
Fig 48: Calibration 0-16S-R14, 0-16S-R16; 255"; All
G09343163Courtesy of FORD MOTOR CO.
Fig 49: Calibration 0-16T-R13, 0-16T-R15, 0-16U-R13; 255"; Calif.
G09343164Courtesy of FORD MOTOR CO.
Fig 50: Calibration 0-16W-R0, 0-16X-R0; 255"; All
G09343165Courtesy of FORD MOTOR CO.
Fig 51: Calibration 9-11C-R1; 302"; Federal
G09343166Courtesy of FORD MOTOR CO.
Fig 52: Calibration 0-11A-R0, 0-11A-R10, 0-11B-R0 0-11D-R0; 302"; All
G09343167Courtesy of FORD MOTOR CO.
Fig 53: Calibration 0-11E-R0; 302"; All
G09343168Courtesy of FORD MOTOR CO.
Fig 54: Calibration 0-11E-R13; 302"; All
G09343169Courtesy of FORD MOTOR CO.
Fig 55: Calibration 0-11N-R0, 0-11N-R10, 0-11N-R11, 0-11N-R13; 302"; All
G09343170Courtesy of FORD MOTOR CO.
Fig 56: Calibration 0-11P-R12; 302"; Calif.
G09343171Courtesy of FORD MOTOR CO.
Fig 57: Calibration 0-11R-R0; 302"; Calif.
G09343172Courtesy of FORD MOTOR CO.
Fig 58: Calibration 0-11W-R0, 0-11W-R10; 302"; All
G09343173Courtesy of FORD MOTOR CO.
Fig 59: Calibration 0-11X-R0; 302"; All
G09343174Courtesy of FORD MOTOR CO.
Fig 60: Calibration 0-13A-R0; 302"; Federal
G09343175Courtesy of FORD MOTOR CO.
Fig 61: Calibration 0-13A-R10; 302"; Federal
G09343176Courtesy of FORD MOTOR CO.
Fig 62: Calibration 0-13A-R11; 302"; Federal
G09343177Courtesy of FORD MOTOR CO.
Fig 63: Calibration 0-13D-R0; 302"; Federal
G09343178Courtesy of FORD MOTOR CO.
Fig 64: Calibration 0-13D-R10; 302"; Federal
G09343179Courtesy of FORD MOTOR CO.
Fig 65: Calibration 0-13F-R0; 302"; Federal
G09343180Courtesy of FORD MOTOR CO.
Fig 66: Calibration 0-13F-R11; 302"; Federal
G09343181Courtesy of FORD MOTOR CO.
Fig 67: Calibration 0-13R-R0, 0-13R-R10, 0-13T-R0, 0-13T-R10; 302"; Calif.
G09343182Courtesy of FORD MOTOR CO.
Fig 68: Calibration 0-14A-R0, 0-14A-R13, 0-14N-R0, 0-14N-R10; 302"; All
G09343183Courtesy of FORD MOTOR CO.
Fig 69: Calibration 0-12A-R0, 0-12A-R5, 0-12B-R0, 351"; Federal
G09343184Courtesy of FORD MOTOR CO.
Fig 70: Calibration 0-12C-R0, 0-12C-R5; 351"; Federal
G09343185Courtesy of FORD MOTOR CO.
Fig 71: Calibration 0-12H-R0; 351"; All
G09343186Courtesy of FORD MOTOR CO.
Fig 72: Calibration 0-12H-R10, 351", All
G09343187Courtesy of FORD MOTOR CO.
Fig 73: Calibration 0-12I-R10; 351"; All
G09343188Courtesy of FORD MOTOR CO.
Fig 74: Calibration 0-12J-R0; 351"; All
G09343189Courtesy of FORD MOTOR CO.
Fig 75: Calibration 0-12J-R10; 351"; All
G09343190Courtesy of FORD MOTOR CO.
Fig 76: Calibration 0-12N-R0; 351"; All
G09343191Courtesy of FORD MOTOR CO.
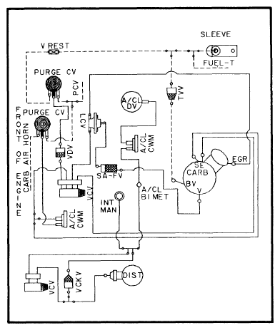
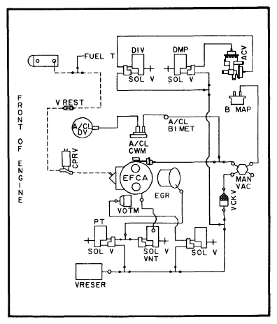
Fig 77: Calibration 0-12P-R0; 357"; All
G09343192Courtesy of FORD MOTOR CO.
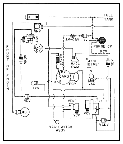
Fig 78: Calibration 0-1H-R19; 2.3L; Federal
G09343193Courtesy of FORD MOTOR CO.
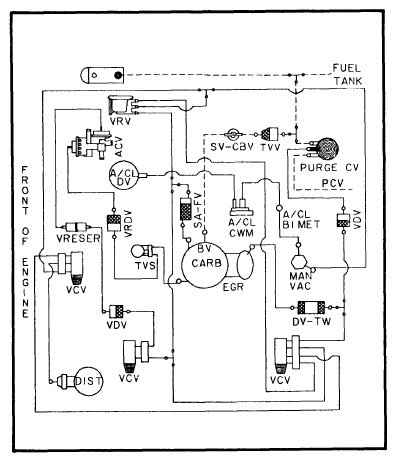
Fig 79: Calibration 0-1S-R15; 2.3L; Calif.
G09343194Courtesy of FORD MOTOR CO.
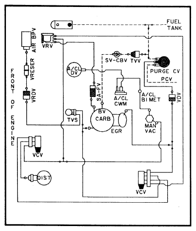
Fig 80: Calibration 0-7A-R11; 200"; Federal
G09343195Courtesy of FORD MOTOR CO.