LEMON Manuals: Even more car manuals for everyone: 1960-2025
Home >> Mercury >> 2002 >> Villager Base >> Repair and Diagnosis >> Body & Frame >> Windows >> Component Testing >> Component Testing >> Ignition Switch
April 5, 2026: LEMON Manuals is launched! Read the announcement.

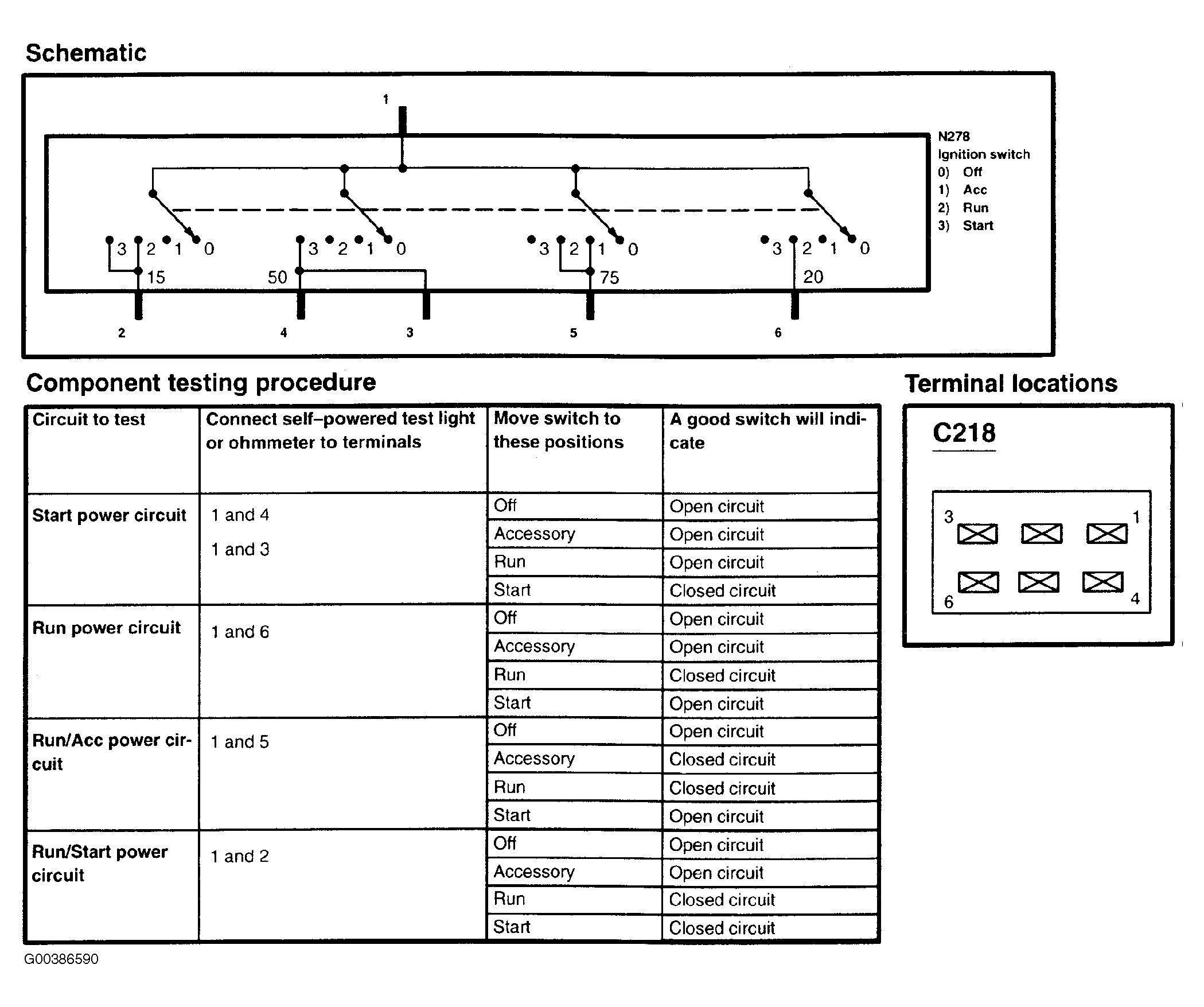
Ignition Switch

Fig 1: Testing Ignition Switch
G00386590Courtesy of FORD MOTOR CO.