LEMON Manuals: Even more car manuals for everyone: 1960-2025
Home >> Mercury >> 2004 >> Marauder >> Repair and Diagnosis >> Electrical >> Component Locations >> Electrical Component Locator >> Miscellaneous
April 5, 2026: LEMON Manuals is launched! Read the announcement.

Electrical Component Locator: Miscellaneous

MISCELLANEOUS LOCATION

Component Location
Air Bag Sliding Contact At base of steering column. See Figure .
Antenna At center of rear shelf. See Figure .
Battery At right side of engine compartment. See Figure .
CD Changer At rear of luggage compartment. See Figure .
Coil On Plug (COP) 1 (Except Natural Gas) On right front of engine. See Figure .
Coil On Plug (COP) 1 (Natural Gas) On right front of engine. See Figure .
Coil On Plug (COP) 2 (Except Natural Gas) On right center of engine. See Figure .
Coil On Plug (COP) 2 (Natural Gas) On right center of engine. See Figure .
Coil On Plug (COP) 3 (Except Natural Gas) On right rear of engine. See Figure .
Coil On Plug (COP) 3 (Natural Gas) On right rear of engine. See Figure .
Coil On Plug (COP) 4 (Except Natural Gas) On right rear of engine. See Figure .
Coil On Plug (COP) 4 (Natural Gas) On right rear of engine. See Figure .
Coil On Plug (COP) 5 On left front of engine. See Figure .
Coil On Plug (COP) 6 On left front of engine. See Figure .
Coil On Plug (COP) 7 On left center of engine. See Figure .
Coil On Plug (COP) 8 On left rear of engine. See Figure .
Data Link Connector (DLC) Behind left side of dash. See Figure .
Driver Air Bag Unit Under horn pad on steering wheel. See Figure .
Driver Safety Belt Retractor Pretensioner Left side of vehicle floor. See Figure .
Front Blower Resistor Assembly At rear of engine compartment. See Figure .
Generator At left front of engine. See Figure .
Horn At front center of engine compartment. See Figure .
Ignition Transformer Capacitor On left front of engine. See Figure .
Ignition Transformer Capacitor 1 (Except Natural Gas) On right rear of engine. See Figure .
Ignition Transformer Capacitor 2 On top left center of engine. See Figure .
Passenger Safety Belt Retractor Pretensioner Right side of vehicle floor. See Figure .
Passive Anti-Theft Transceiver Behind left side of dash. See Figure .
PCM Power Diode In battery junction box. See Figure .
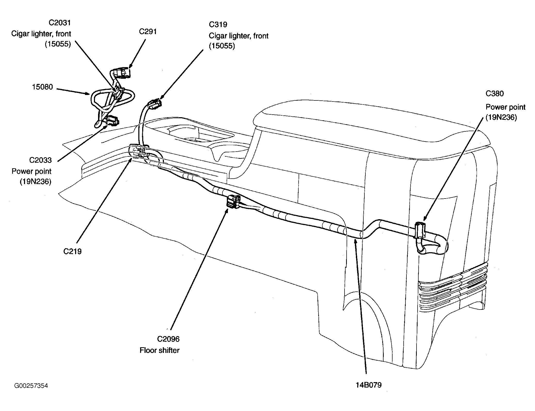
Power Point At rear of center console. See Figure .
Seat Cushion Heater, Left Front Under left front seat. See Figure .
Seat Cushion Heater, Right Front Under right front seat. See Figure .
Siren Amplifier In luggage compartment.
Subwoofer Amplifier In luggage compartment, under rear package tray. See Figure .
Wig-Wag Jumper No. 1 On right front side of engine compartment. See Figure .
4R70W Transmission At left rear of transmission. See Figure .