LEMON Manuals: Even more car manuals for everyone: 1960-2025
Home >> Mercury >> 2009 >> Sable Base, AWD >> Repair and Diagnosis >> External Pages >> Different car >> Section 1154 (Vehicle Dynamic Systems) >> Removal And Installation >> Steering Wheel Rotation Sensor >> Notes
April 5, 2026: LEMON Manuals is launched! Read the announcement.

Steering Wheel Rotation Sensor: Notes

WARNING: This page is about a different car, the 2008 Ford RV Cutaway, 2008 Ford Econoline, 2008 Ford E450 Super Duty, and 2008 Ford Cutaway. However, it is still accessible from the selected car via links, so may be relevant.
Fig 1: Exploded View Of Steering Wheel Rotation Sensor With Torque Specifications
GF0012329Courtesy of FORD MOTOR CO.
Item Part Number Description
1 - Steering wheel rotation sensor electrical connector ( part of 14401)
2 390345 Steering wheel rotation sensor bolts (2 required)
3 3F818 Steering wheel rotation sensor
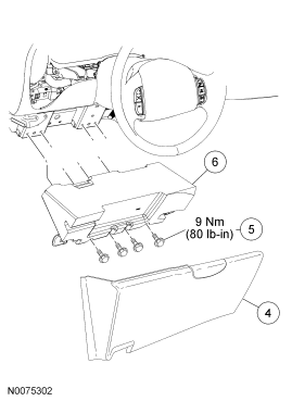
Fig 2: Exploded View Of Steering Column Opening Cover With Torque Specifications
GF0012330Courtesy of FORD MOTOR CO.
Item Part Number Description
4 1504459 Steering column opening cover
5 N808401 Instrument panel LH knee bolster bolt (4 required)
6 15043C74 Instrument panel LH knee bolster