Spring Lock Coupling
WARNING: This page is about a different car, the 2009 Mercury Grand Marquis and 2009 Ford Crown Victoria. However, it is still accessible from the selected car via links, so may be relevant.
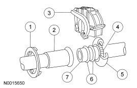
| Item | Part Number | Description |
|---|---|---|
| 1 | - | Plastic indicator ring |
| 2 | - | Female fitting |
| 3 | 19E746 | A/C tube lock coupling clip |
| 4 | 19E576 | A/C tube lock coupling spring |
| 5 | - | Cage |
| 6 | 19E889 | O-ring seals |
| 7 | - | Male fitting |
The spring lock coupling is a refrigerant line coupling held together by a garter spring inside a circular cage.
- When the coupling is connected together, the flared end of the female fitting slips behind the garter spring inside the cage of the male fitting.
- The garter spring and cage then prevent the flared end of the female fitting from pulling out of the cage.
- The O-ring seals are green in color and are made of a special material.
- Use only the specified green O-ring seals listed in the Master Parts Catalog for the spring lock coupling.
- A plastic indicator ring is used on the spring lock couplings of the A/C evaporator core to indicate, during vehicle assembly, that the coupling is connected. Once the coupling is connected, the indicator ring is no longer necessary but remains captive by the coupling near the cage opening.