LEMON Manuals: Even more car manuals for everyone: 1960-2025
Home >> Mini >> 2003 >> Cooper Base, Standard >> Repair and Diagnosis >> Electrical >> Body Electrical >> Connector End Views (R50) >> Connector End Views >> ABS Control Module X11 Connector End View
April 5, 2026: LEMON Manuals is launched! Read the announcement.

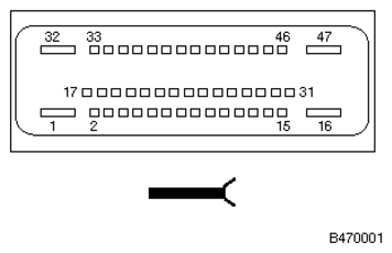
ABS Control Module X11 Connector End View

Fig 1: ABS Control Module X11 Connector End View
G11234803Courtesy of BMW OF NORTH AMERICA, INC.
Pin Assignments At Plug Connector X11

Pin Type Description /Signal type Connection /Measuring notes
1 E Terminal 30 Fuse FL6
2 E/A Diagnostic link OBDII socket
3   Not used  
4 E Terminal 15 Fuse F33
5   Not used  
6   Not used  
7   Not used  
8 A Signal Processed wheel speed, rear right Control module, tire failure indicator (RPA)
9 E Signal Brake fluid level Brake fluid level switch
10 A Signal Processed wheel speed, rear left Control module, tire failure indicator (RPA)
11 E/A CAN bus high Digital motor electronics control unit
12 A Signal Processed wheel speed, front right Control module, tire failure indicator (RPA)
13   Not used  
14 A Signal Conditioned wheel speed, front left Control module, tire failure indicator (RPA)
15 E/A CAN bus low Digital motor electronics control unit
16 M Ground Ground point
17   Not used  
18   Not used  
19   Not used  
20   Not used  
21   Not used  
22   Not used  
23   Not used  
24   Not used  
25   Not used  
26   Not used  
27   Not used  
28   Not used  
29   Not used  
30   Not used  
31   Not used  
32 E Terminal 30 Fuse F06
33 E Signal Wheel speed sensor, front right Front right speed sensor
34 A Voltage supply, front right wheel speed sensor Front right speed sensor
35   Not used  
36 A Voltage supply, rear left wheel speed sensor Rear left speed sensor
37 E Signal Wheel speed sensor, rear left Rear left speed sensor
38 E with traction control ASC passive button Switch panel
39   Not used  
40   Not used  
41 E Brake light switch signal Brake light switch
42 E Signal Wheel speed sensor, rear right Rear right speed sensor
43 A Voltage supply, rear right wheel speed sensor Rear right speed sensor
44   Not used  
45 A Voltage supply, front left wheel speed sensor Front left speed sensor
46 E Signal Wheel speed sensor, front left Front left speed sensor
47 M Ground Ground point