LEMON Manuals: Even more car manuals for everyone: 1960-2025
Home >> Mini >> 2009 >> Cooper Base, 2D Convertible, Automatic >> Repair and Diagnosis (Single Page) >> External Pages >> Different car >> Section 3473 (General Electrical System - Repair (ACTIVEHYBRID)) >> Relay >> 61 13... Relay carrier
April 5, 2026: LEMON Manuals is launched! Read the announcement.

61 13... Relay carrier

WARNING: This page is about a different car, the 2011 BMW X6 and 2010 BMW X6. However, it is still accessible from the selected car via links, so may be relevant.

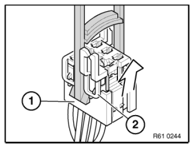
Place special tool 61 1 153 against relay carrier (1) and carefully pull in direction of arrow until the locking tabs (2) of the relay carrier are raised up.

Fig 1: Pulling Special Tool (61 1 153)
G08574064Courtesy of BMW OF NORTH AMERICA, INC.

Pull relay carrier (2) in direction of arrow into the first catch (3).

Fig 2: Identifying Relay Carrier And Catch
G08574065Courtesy of BMW OF NORTH AMERICA, INC.

Press down arrester hook (4) of corresponding contact and pull out the cable with contact.

With special tool 61 1 136 or 61 1 137 (press out) press out dual spring contacts.

Fig 3: Removing Dual Spring Contacts Using Special Tool (61 1 136) Or (61 1 137)
G08574066Courtesy of BMW OF NORTH AMERICA, INC.