LEMON Manuals: Even more car manuals for everyone: 1960-2025
Home >> Mini >> 2009 >> Cooper Base, 2D Convertible, Standard >> Repair and Diagnosis >> External Pages >> Different car >> Section 2995 (Steering And Wheel Alignment - Repair) >> Electronic Chassis Alignment >> 32 00... General information and definitions >> Toe
April 5, 2026: LEMON Manuals is launched! Read the announcement.

32 00... General information and definitions: Toe

WARNING: This page is about a different car, the 2013 BMW 550i GT, 2012 BMW 550i GT, 2011 BMW 550i GT, and 2010 BMW 550i GT. However, it is still accessible from the selected car via links, so may be relevant.

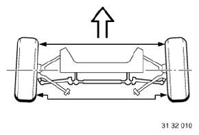
Reduction in distance of front of front wheels to rear of front wheels. The toe-in prevents the wheels from moving apart during driving and thus:

Measurement is performed in "straight-ahead mode".

Fig 1: Identifying Toe-In
G04724256Courtesy of BMW OF NORTH AMERICA, INC.