LEMON Manuals: Even more car manuals for everyone: 1960-2025
Home >> Mini >> 2012 >> Cooper Base, 2D Convertible, Automatic Trans >> Repair and Diagnosis >> External Pages >> Different car >> Section 1455 (Trailers - Repair) >> 10 Loading Platform >> 86 10 ... Disassembly of Loading Ramp Frame/Disassembly of Rail, Left/Right
April 5, 2026: LEMON Manuals is launched! Read the announcement.

86 10 ... Disassembly of Loading Ramp Frame/Disassembly of Rail, Left/Right

WARNING: This page does not describe the selected car, but rather 7 other vehicles, including the 2010 BMW X3, 2009 BMW X3, 2008 BMW X3, 2007 BMW X3, and 2006 BMW X3. However, it is still accessible from the selected car via links, so may be relevant.
NOTE:

Two persons are required to disassemble the loading ramp frame.

Disassembly of license plate mounting plate, refer to 86 10 ... Disassembly of licence plate mounting plate 

Disassembly of pull rod, refer to 86 10 ... Removing overrunning equipment/maintaining or replacing guide bush/installing overrunning equipment .

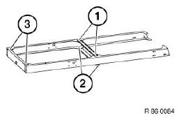
Release screws (1) of loading ramp frame (2) on cross-strut (3).

Installation: 

Tightening Torque: 86 10 7AZ, see 86 10 PLATFORM .

Fig 1: Identifying Loading Ramp Frame On Cross-Strut
G04786648Courtesy of BMW OF NORTH AMERICA, INC.

Release screws (1, 2) on left and right sides of loading ramp frame (3).

Installation: 

Use new self-locking nuts.

Tightening Torque: 86 10 8AZ, see 86 10 PLATFORM .

Fig 2: Identifying Screws On Loading Ramp Frame
G04786649Courtesy of BMW OF NORTH AMERICA, INC.

Release screws (1, 2, 3).

Installation: 

Use new self-locking nuts.

Tightening Torque: 86 10 9AZ, see 86 10 PLATFORM .

Fig 3: Identifying Screws
G04786650Courtesy of BMW OF NORTH AMERICA, INC.