LEMON Manuals: Even more car manuals for everyone: 1960-2025
Home >> Mini >> 2012 >> Cooper Base, 2D Convertible, Automatic Trans >> Repair and Diagnosis >> External Pages >> Different car >> Section 459 (Steering And Wheel Alignment - Repair) >> Electronic chassis alignment >> 32 00... General Information And Definitions
April 5, 2026: LEMON Manuals is launched! Read the announcement.

32 00... General Information And Definitions

WARNING: This page is about a different car, the 2006 BMW X5, 2005 BMW X5, and 2004 BMW X5. However, it is still accessible from the selected car via links, so may be relevant.

Toe angle difference 

The toe angle difference is the angle adjustment of the inner cornering wheel relative to the outer cornering wheel when negotiating a curve. Steering is designed in such a way that angular position of wheels changes as steering lock progresses.

Fig 1: Identifying Toe Angle Difference
G03267757Courtesy of BMW OF NORTH AMERICA, INC.

A correctly adjusted toe angle difference produces equal values for left and right lock with consideration of factory tolerances. Toe angle difference provides information on corresponding operation of steering trapezoid for left or right steering lock from center position.

Camber 

Inclination of the wheel from the perpendicular.

Fig 2: Identifying Camber Angle
G03267758Courtesy of BMW OF NORTH AMERICA, INC.

Toe 

Reduction in distance of front of front wheels to rear of front wheels. The toe-in prevents the wheels from moving apart during driving and thus:

Measurement is performed in "straight-ahead mode".

Fig 3: Identifying Toe-In Angle
G03267759Courtesy of BMW OF NORTH AMERICA, INC.

Caster 

Is the inclination of the kingpin in the direction of travel viewed from the side. The line through the center point of the spring strut support bearing and the control arm ball joint corresponds to the "kingpin".

Thanks to caster, wheels are pulled and not pushed. In a similar manner to king pin inclination, when driving in curves or around corners, returning forces are reproduced to help return wheels to straight-ahead position.

Fig 4: Identifying Caster Angle
G03267760Courtesy of BMW OF NORTH AMERICA, INC.

Geometrical axis 1 

Is the angle bisector from the total rear-wheel toe.

Fig 5: Identifying Front-Wheel Measurements
G03267761Courtesy of BMW OF NORTH AMERICA, INC.

Front-wheel measurements are taken in reference to this axis.

Symmetrical axis 2 

Center line running through front and rear axles.

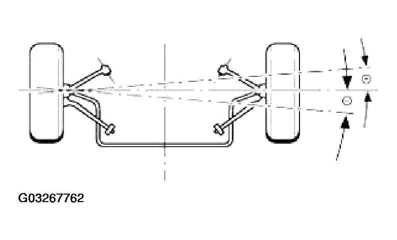
Wheel offset 

Angle by which one front wheel is displaced more towards front or rear than the other front wheel.

Fig 6: Identifying Wheel Offset
G03267762Courtesy of BMW OF NORTH AMERICA, INC.

Kingpin offset/scrub radius 

Is the distance from the center of the wheel contact face to the intersection point of the kingpin extension. The line through the center point of the spring strut support bearing and the control arm ball joint corresponds to the "kingpin".

The scrub radius is influenced by camber, kingpin angle and wheel offset of the wheel rim.

Fig 7: Identifying Kingpin Offset/Scrub Radius
G03267763Courtesy of BMW OF NORTH AMERICA, INC.