LEMON Manuals: Even more car manuals for everyone: 1960-2025
Home >> Mini >> 2012 >> Cooper Base, 2D Convertible, Automatic Trans >> Repair and Diagnosis >> External Pages >> Different car >> Section 465 (General Electrical System - Repair Instructions) >> Plug Connection Termi >> 61 13... Repairing ribbon cables >> Special tools required:
April 5, 2026: LEMON Manuals is launched! Read the announcement.

Special tools required:

WARNING: This page is about a different car, the 2006 BMW X5, 2005 BMW X5, and 2004 BMW X5. However, it is still accessible from the selected car via links, so may be relevant.

Place ribbon cables (1) in connector housing (2) and close cover (3).

Fig 1: Placing Ribbon Cables (1) In Connector Housing
G03268938Courtesy of BMW OF NORTH AMERICA, INC.

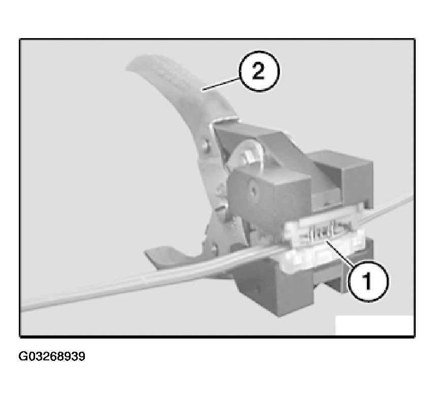
Place connector housing (1) in pliers (2) 61 1 190.

Close pliers (2).

Fig 2: Placing Connector Housing In Pliers
G03268939Courtesy of BMW OF NORTH AMERICA, INC.