LEMON Manuals: Even more car manuals for everyone: 1960-2025
Home >> Mini >> 2012 >> Cooper Base, 2D Convertible, Automatic Trans >> Repair and Diagnosis >> External Pages >> Different car >> Section 465 (General Electrical System - Repair Instructions) >> Relays >> 61 13... Relay carrier
April 5, 2026: LEMON Manuals is launched! Read the announcement.

61 13... Relay carrier

WARNING: This page is about a different car, the 2006 BMW X5, 2005 BMW X5, and 2004 BMW X5. However, it is still accessible from the selected car via links, so may be relevant.

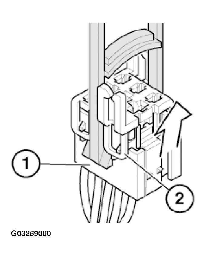
Place special tool 61 1 153 on relay carrier (1) and carefully pull in direction of arrow until retaining lugs (2) on relay carrier are raised.

Fig 1: Identifying Relay Carrier
G03269000Courtesy of BMW OF NORTH AMERICA, INC.

Pull relay carrier (2) in direction of arrow into first catch (3).

Fig 2: Pulling Relay Carrier
G03269001Courtesy of BMW OF NORTH AMERICA, INC.

Press down arrester hook (4) of appropriate contact and pull out cable with contact.

Press out double flat spring contact with special tool 61 1 136 or 61 1 137 (ejector).

Fig 3: Pressing Down Arrester Hook Of Appropriate Contact
G03269002Courtesy of BMW OF NORTH AMERICA, INC.