LEMON Manuals: Even more car manuals for everyone: 1960-2025
Home >> Mini >> 2012 >> Cooper Base, 2D Convertible, Automatic Trans >> Repair and Diagnosis >> External Pages >> Different car >> Section 656 (General Electrical System - Repair Instructions) >> Plug Connections, Terminals >> 61 13... Repairing ribbon cables
April 5, 2026: LEMON Manuals is launched! Read the announcement.

61 13... Repairing ribbon cables

WARNING: This page is about a different car, the 2006 BMW X3, 2005 BMW X3, and 2004 BMW X3. However, it is still accessible from the selected car via links, so may be relevant.

Special tools required: 

Place ribbon cables (1) in connector housing (2) and close cover (3).

Fig 1: Placing Ribbon Cables
G03311934Courtesy of BMW OF NORTH AMERICA, INC.

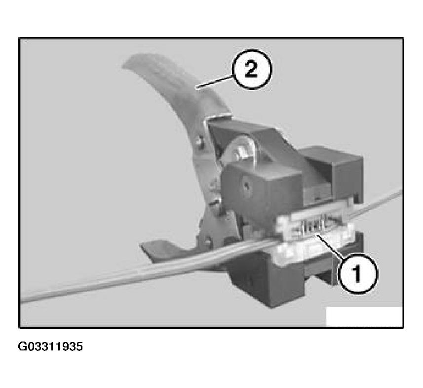
Place connector housing (1) in pliers (2) 611190. Close pliers (2).

Fig 2: Placing Connector Housing In Pliers
G03311935Courtesy of BMW OF NORTH AMERICA, INC.