LEMON Manuals: Even more car manuals for everyone: 1960-2025
Home >> Mini >> 2012 >> Cooper Base, 2D Hatchback, Automatic Trans >> Repair and Diagnosis >> External Pages >> Different car >> Section 2313 (Trailers - Repair) >> Loading platform >> 86 10... Removing loading ramp lock
April 5, 2026: LEMON Manuals is launched! Read the announcement.

86 10... Removing loading ramp lock

WARNING: This page does not describe the selected car, but rather 12 other vehicles, including the 2013 BMW 135i, 2013 BMW 128i, 2012 BMW 135i, 2012 BMW 128i, and 2011 BMW 135i. However, it is still accessible from the selected car via links, so may be relevant.

Unscrew bolts (1).

Installation: 

Tightening Torque,

refer to 86 10 28AZ, see 86 10 PLATFORM

Fig 1: Identifying Loading Ramp Lock Bolts
G05780502Courtesy of BMW OF NORTH AMERICA, INC.

Pass lever (1) of rotary striker lock (2) out of square hole (3) by twisting from side to side.

Fig 2: Identifying Lever Of Rotary Striker Lock
G05780503Courtesy of BMW OF NORTH AMERICA, INC.

Unscrew bolts (1).

Installation: 

Opening for securing clip (2) points to front or rear.

Square-head nut (3) rests with its square surface parallel to bearing pedestal (4).

Tightening Torque,

refer to 86 10 29AZ, see 86 10 PLATFORM

Fig 3: Identifying Clip And Bearing Pedestal
G05780504Courtesy of BMW OF NORTH AMERICA, INC.

Raise edge (1) of securing clip and slide in direction of arrow towards rear.

Detach bearing pedestal (2).

Fig 4: Sliding Edge Of Securing Clip
G05780505Courtesy of BMW OF NORTH AMERICA, INC.

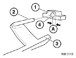
Installation: 

Install bearing pedestal (1) on stub (3) of locking bracket (3).

Off-center bore (4) in bearing pedestal (1) points with short distance (A) to locking bracket (3).

Fig 5: Identifying Bearing Pedestal On Stub Of Locking Bracket
G05780506Courtesy of BMW OF NORTH AMERICA, INC.