LEMON Manuals: Even more car manuals for everyone: 1960-2025
Home >> Mini >> 2013 >> Cooper Base, 2D Convertible, Automatic Trans >> Repair and Diagnosis >> External Pages >> Different car >> Section 1273 (Front Axle - Repair) >> Spring Strut >> 31.... Layout Of Spring Strut Shock Absorber
April 5, 2026: LEMON Manuals is launched! Read the announcement.

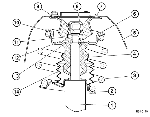
31.... Layout Of Spring Strut Shock Absorber

WARNING: This page is about a different car, the 2010 BMW M5, 2009 BMW M5, 2008 BMW M5, 2007 BMW M5, and 2006 BMW M5. However, it is still accessible from the selected car via links, so may be relevant.
Fig 1: Identifying Spring Strut Shock Absorber Components
G04726236Courtesy of BMW OF NORTH AMERICA, INC.