LEMON Manuals: Even more car manuals for everyone: 1960-2025
Home >> Mini >> 2013 >> Cooper Base, 2D Convertible, Automatic Trans >> Repair and Diagnosis >> External Pages >> Different car >> Section 3473 (Maintenance And General Information - Special Tools) >> Maintenance And General Data >> 00-5012 Spindle
April 5, 2026: LEMON Manuals is launched! Read the announcement.

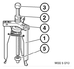
00-5012 Spindle

WARNING: This page is about a different car, the 2013 BMW X5 M, 2012 BMW X5 M, 2011 BMW X5 M, and 2010 BMW X5 M. However, it is still accessible from the selected car via links, so may be relevant.

0490468 005012 Spindle Minimum set: Mechanical tools MW

NOTE: (Guide spindle) Discontinued, only available via complete tool [cannot be ordered separately]
Fig 1: Identifying Spindle (0490468)
G04739091Courtesy of BMW OF NORTH AMERICA, INC.