LEMON Manuals: Even more car manuals for everyone: 1960-2025
Home >> Mitsubishi >> 1987 >> Starion ESI-R >> Repair and Diagnosis >> External Pages >> Different car >> Section 17 (Controller Area Network (Can) - Lancer Evolution) >> General Information >> Structure
April 5, 2026: LEMON Manuals is launched! Read the announcement.

General Information: Structure

WARNING: This page is about a different car, the 2008 Mitsubishi Lancer. However, it is still accessible from the selected car via links, so may be relevant.
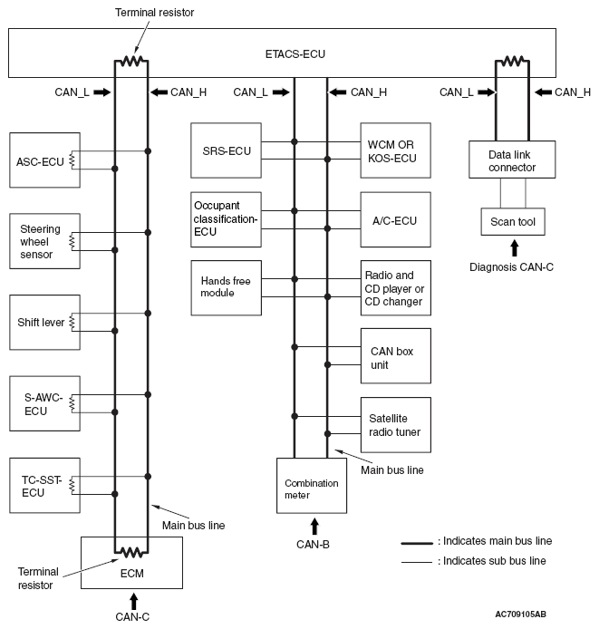
Fig 1: Controller Area Network (CAN) Structure
G05395495Courtesy of MITSUBISHI MOTOR SALES OF AMERICA.

CAN-B 

CAN-C 

Diagnosis CAN-C