LEMON Manuals: Even more car manuals for everyone: 1960-2025
Home >> Mitsubishi >> 1996 >> Eclipse Base, Automatic >> Repair and Diagnosis >> Electrical >> Component Locations >> Electrical Component Locator >> Component Location Graphics
April 5, 2026: LEMON Manuals is launched! Read the announcement.

Component Location Graphics

NOTE: Figures may show multiple component locations. Refer to appropriate table for proper figure references.
Fig 1: Left Rear Of Engine Compartment (2.0L Non-Turbo)
G96B03278
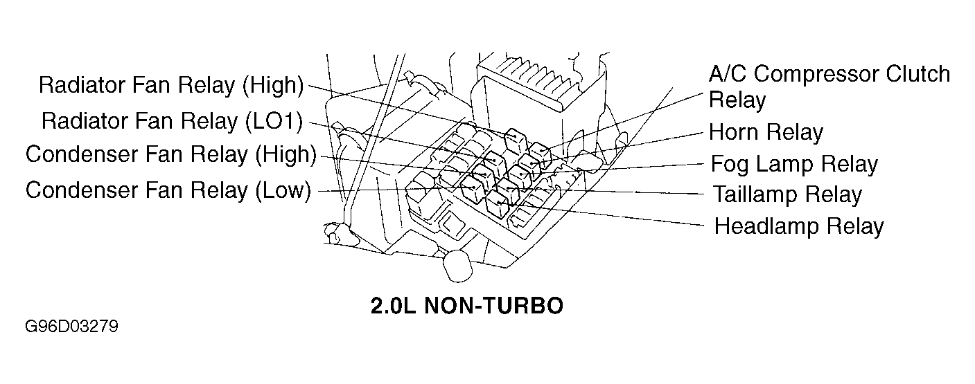
Fig 2: Left Side Of Engine Compartment (2.0L Non-Turbo)
G96D03279
Fig 3: Center Of Dash (1996 2.0L Turbo & 2.4L)
G96F03280
Fig 4: Center Of Dash (1995 2.0L Turbo)
G96H03281
Fig 5: Right Side Of Engine Compartment (2.0L Turbo)
G96J03282
Fig 6: Right Rear Of Engine Compartment (2.0L Turbo)
G96B03283
Fig 7: Right Side Of Engine Compartment (2.4L)
G96D03284
Fig 8: Left Rear Quarter Panel Trim
G96G03285
Fig 9: Left Side Of Dash
G96I03286
Fig 10: Center Of Dash
G96A03287
Fig 11: Right Side Of Engine Compartment (2.4L)
G96C03288
Fig 12: Left Side Of Luggage Compartment (1996)
G96E03289
Fig 13: Right Side Of Dash (1995)
G96G03290
Fig 14: Center Of Dash
G96I03291
Fig 15: Right Side Of Engine Compartment (2.0L Turbo)
G96A03292
Fig 16: Top Of Steering Column
G96C03293
Fig 17: Center Of Dash
G96E03294
Fig 18: Left Side Of Dash
G96H03295
Fig 19: Right Side Of Dash
G96J03296
Fig 20: Left Side Of Dash
G96B03297
Fig 21: Left Side Of Engine Compartment (1996 2.0L Non-Turbo)
G96D03298
Fig 22: Left Side Of Engine Compartment (1995 2.0L Non-Turbo)
G96F03299
Fig 23: Center Of Dash (2.0L Turbo & 2.4L)
G96J03300
Fig 24: Center Of Dash
G96B03301
Fig 25: Right Side Of Dash (1996 2.0L Non-Turbo)
G96D03302
Fig 26: Center Floor (1996)
G96F03303
Fig 27: Right Side Of Dash (1996 2.0L Turbo & 2.4L)
G96H03304
Fig 28: Center Of Windshield Header
G96A03305
Fig 29: Locating Camshaft Position Sensor (2.0L Non-Turbo & Turbo)
G00082115Courtesy of MITSUBISHI MOTOR SALES OF AMERICA.
Fig 30: Locating Crankshaft Position Sensor (2.0L Non-Turbo)
G00082114Courtesy of MITSUBISHI MOTOR SALES OF AMERICA.
Fig 31: Right Side Of Dash
G96C03306
Fig 32: Right Side Of Dash
G96E03307
Fig 33: Left Side Of Dash (1996)
G96G03308
Fig 34: Left Side Of Dash
G96I03309
Fig 35: Left Side Of Dash (1995)
G96A03310
Fig 36: Center Of Dash (1995 2.0L Turbo)
G96C03311
Fig 37: Lower Left Side Of Dash
G96E03312
Fig 38: Right Side Of Firewall (2.0L Turbo & 2.4L)
G96G03313