LEMON Manuals: Even more car manuals for everyone: 1960-2025
Home >> Mitsubishi >> 1996 >> Eclipse Base, Standard >> Repair and Diagnosis >> External Pages >> Different car >> Section 28 (Cruise Control System) >> Testing >> Without Scan Tool >> Cruise Control Relay
April 5, 2026: LEMON Manuals is launched! Read the announcement.

Cruise Control Relay

WARNING: This page is about a different car, the 1995 Eagle Vision, 1995 Dodge Intrepid, and 1995 Chrysler Concorde. However, it is still accessible from the selected car via links, so may be relevant.
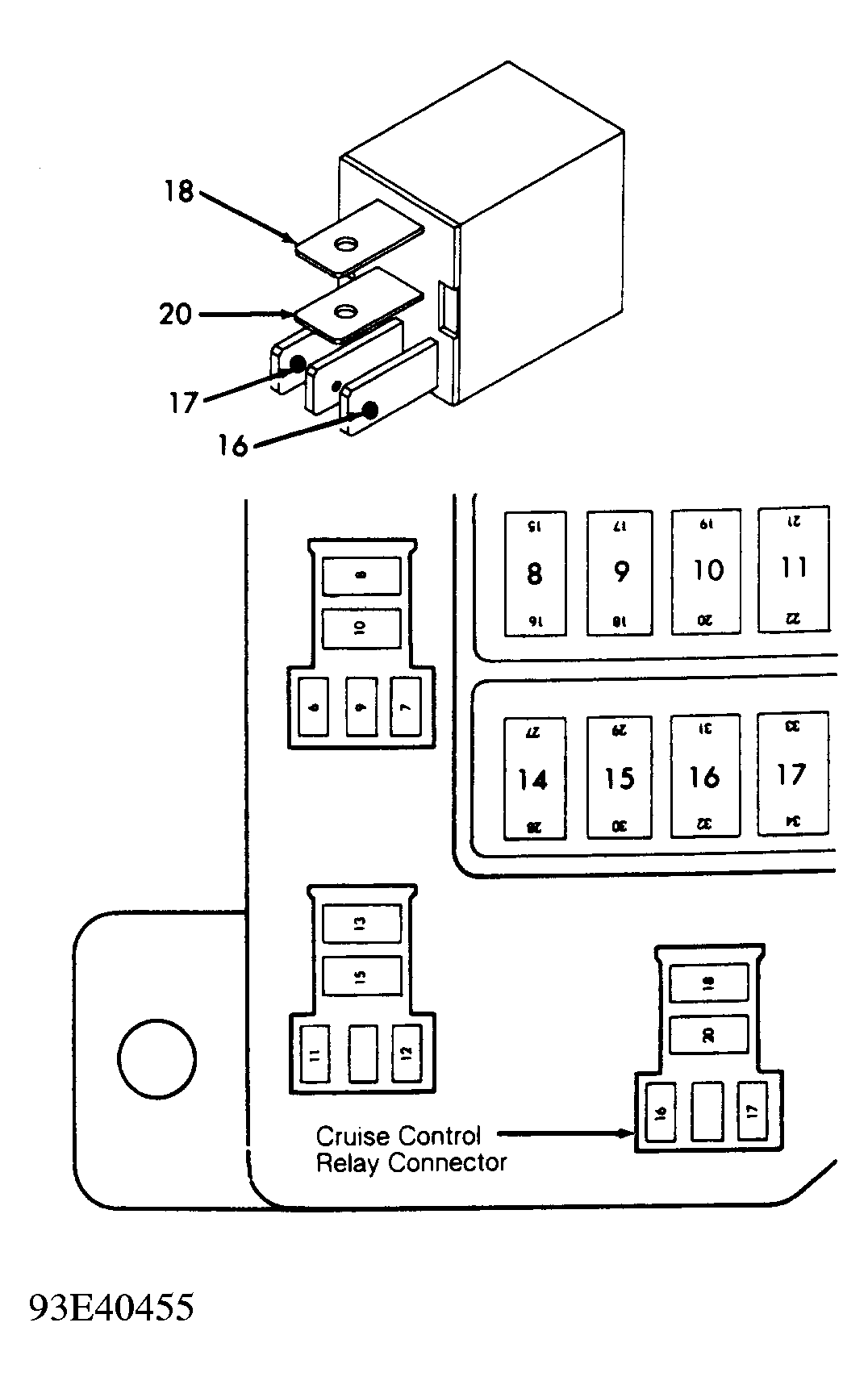
  1. Turn ignition switch to OFF position. Remove cruise control relay from junction block. See Figure . Junction block is located under left side of dash behind kick panel. Inspect relay connector. If connector is okay, go to next step. If connector is not okay, repair connector as necessary.
  2. Turn ignition switch to ON position. Using voltmeter, measure voltage on cruise control relay connector terminal No. 16. If voltage is more than 10 volts, go to next step. If voltage is less than 10 volts, check 5-amp fuse No. 14 in fuse block. If fuse is blown, replace fuse. If fuse is okay, repair open in Dark Blue wire between fuse block and ignition switch.
  3. Turn ignition switch to OFF position. Using an ohmmeter, check resistance between cruise control relay terminals No. 16 and 17. If resistance is more than 100 ohms, replace cruise control relay. If resistance is less than 100 ohms, go to next step.
  4. Turn ignition off. Disconnect Powertrain Control Module (PCM) 60-pin connector. PCM is located under air cleaner. Check resistance of Tan/Red wire between terminal PCM connector No. 55 and cruise control relay connector terminal No. 17. If resistance is less than 10 ohms, go to next step. If resistance is more than 10 ohms, repair open in Tan/Red wire.
  5. Turn ignition off. Check resistance between PCM connector terminal No. 55 (Tan/Red wire) and ground. If resistance is less than 10 ohms, repair short to ground in Tan/Red wire. If resistance is more than 10 ohms, replace PCM.