LEMON Manuals: Even more car manuals for everyone: 1960-2025
Home >> Mitsubishi >> 2003 >> Lancer Evolution >> Repair and Diagnosis >> Electrical >> Body Electrical >> OEM Connector End Views >> Connector End Views >> Powertrain Control Module Connector C-114 Connector End View (Except Evolution)
April 5, 2026: LEMON Manuals is launched! Read the announcement.

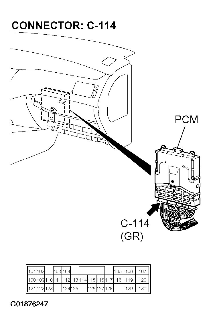
Powertrain Control Module Connector C-114 Connector End View (Except Evolution)

Fig 1: Powertrain Control Module Connector C-114 Connector End View (Except Evolution)
G01876247Courtesy of MITSUBISHI MOTOR SALES OF AMERICA.