LEMON Manuals: Even more car manuals for everyone: 1960-2025
Home >> Mitsubishi >> 2010 >> Lancer Evolution SE >> Repair and Diagnosis >> External Pages >> Different variant/trim >> Section 16 (Wireless Control Module (WCM) - Lancer) >> Diagnosis >> Id Codes Registration Judgment Table >> Notes
April 5, 2026: LEMON Manuals is launched! Read the announcement.

Id Codes Registration Judgment Table: Notes

WARNING: This page is about a different variant/trim than selected.
CAUTION: Do not replace the engine control module (ECM) and WCM at the same time. When replacing several ECUs, always replace one ECU at a time, register the necessary IDs in it, and then replace the next ECU.

The transponder (a small transmitter) in the ignition key, WCM, and the ECM have their own ID codes stored in them. When the cases listed in the table below occur, the ID codes must be registered in the WCM or ECM again.

NOTE: Up to eight ignition keys (key ID and keyless entry secret code) can be stored in the memory of WCM.
ID CODES REGISTRATION JUDGMENT CHART

Item Operation contents and procedure Reference for registration contents
When the ECM is replaced
  1. Registration of ENG key code.
  2. VIN programmed.
ENG key code & VIN reg (Refer to HOW TO PERFORM VIN WRITING ).
When WCM is replaced
  1. VIN programmed
  2. Register all the key IDs of the ignition keys again.
  3. Register all the keyless IDs of the ignition keys again.
  4. Register the TPMS transmitters
When the ignition key is added as a single unit
  1. Register all the key IDs of the ignition keys again.
  2. Register all the keyless IDs of the ignition keys again.
Key Registration and Keyless ID Registration (Refer to ID CODES REGISTRATION PROCEDURE  )
When the ignition key is lost as a single unit
  1. Register all the key IDs of ignition keys other than the lost one again.
  2. Register all the keyless IDs of ignition keys other than the lost one again.
When the ignition key is replaced by the full service key set or the handle lock service key set is replaced by the piece.
  1. Register the key ID of the replaced ignition key again. <Barcode No. input>
  2. Register the keyless ID for all the ignition keys again.
Key Registration (Barcode No.) and Keyless ID Registration (Refer to ID CODES REGISTRATION PROCEDURE  )
When the key(1) is replaced by the door service key set or trunk lid service key set is added by the piece. Operation is not needed -
When TPMS transmitter is replaced Register the TPMS transmitter Registering tire pressure sensor ID (Refer to ID CODES REGISTRATION PROCEDURE  ).
(1) Key (the key that can be used to lock/unlock the door or trunk lid only)

SUPPLY UNIT LIST FOR INDIVIDUAL KEY 

INDIVIDUAL KEY AND SUPPLY UNIT LIST

Ignition key (without transmitter) Ignition key (with transmitter)
G06666137Courtesy of MITSUBISHI MOTOR SALES OF AMERICA.
G06666138Courtesy of MITSUBISHI MOTOR SALES OF AMERICA.

KEY SUPPLY UNIT LIST FOR OTHER THAN INDIVIDUAL KEY 

KEY SUPPLY UNIT LIST

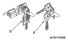
Full service key set <Vehicles with keyless entry system> Full service key set <Vehicles without keyless entry system> Handle lock service key set (A:Without transmitter, B:With transmitter)
G06666139Courtesy of MITSUBISHI MOTOR SALES OF AMERICA.
G06666140Courtesy of MITSUBISHI MOTOR SALES OF AMERICA.
G06666141Courtesy of MITSUBISHI MOTOR SALES OF AMERICA.
KEY SUPPLY UNIT LIST

Door service key set (LH), Door service key set (RH) <Vehicles without keyless entry system>
NOTE: Key (It can only be used for locking and unlocking, and it cannot start the engine.)
Trunk lid service key set <Vehicles without keyless entry system>
NOTE: Key (t can only be used for locking and unlocking, and it cannot start the engine.)
G06666142Courtesy of MITSUBISHI MOTOR SALES OF AMERICA.
G06666143Courtesy of MITSUBISHI MOTOR SALES OF AMERICA.