LEMON Manuals: Even more car manuals for everyone: 1960-2025
Home >> Mitsubishi >> 2016 >> Outlander ES >> Repair and Diagnosis >> Body & Frame >> Windows >> Window Glass >> Windshield >> Removal And Installation >> Notes
April 5, 2026: LEMON Manuals is launched! Read the announcement.

Removal And Installation: Notes

Pre-removal and Post-installation Operation 
  • Front deck garnish removal and installation (Refer to WINDSHIELD WIPER .)
  • Roof drip molding removal and installation (Refer to REMOVAL AND INSTALLATION .)
  • Front pillar trim removal and installation (Refer to INTERIOR TRIM .)
  • Inside rear view mirror assembly removal and installation (Refer to INSIDE REAR VIEW MIRROR .)
  • Lighting control sensor removal and installation < Vehicles with lighting control sensor > (Refer to LIGHTING CONTROL SENSOR .)
  • LDW-ECU bracket removal and installation < Vehicles with LDW > (Refer to LDW-ECU .)
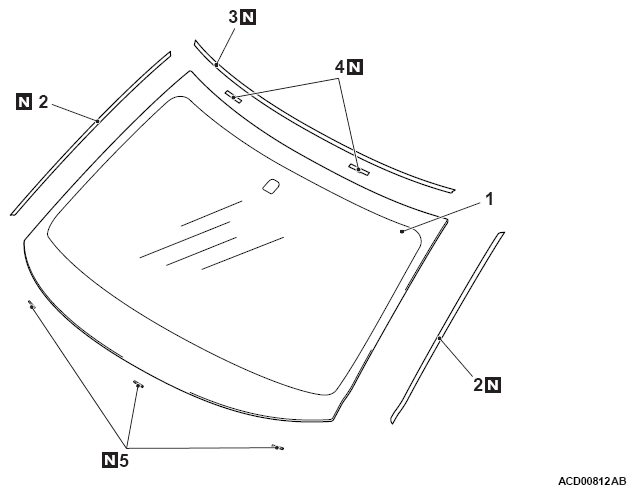
Fig 1: Removing/Installing Windshield Components With Torque Specification (1 Of 2)
G10224639Courtesy of MITSUBISHI MOTOR SALES OF AMERICA.
Fig 2: Removing/Installing Windshield Components With Torque Specification (2016) (2 Of 3)
G00562698Courtesy of MITSUBISHI MOTOR SALES OF AMERICA.
Fig 3: Removing/Installing Windshield Components With Torque Specification (3 Of 3)
G10224640Courtesy of MITSUBISHI MOTOR SALES OF AMERICA.