LEMON Manuals: Even more car manuals for everyone: 1960-2025
Home >> Mitsubishi >> 2017 >> Lancer SEL >> Repair and Diagnosis >> Accessories & Equipment >> Entertainment Systems >> Hands Free Module >> Hands Free Module Removal And Installation
April 5, 2026: LEMON Manuals is launched! Read the announcement.

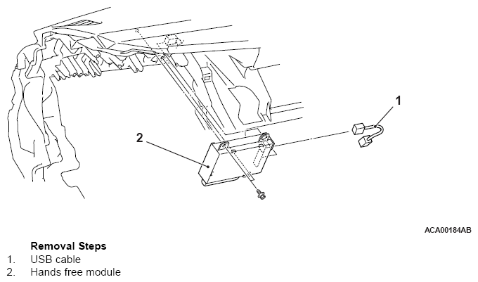
Hands Free Module Removal And Installation

Pre-removal and Post-installation Operation 

Glove Box Cover Removal and Installation (Refer to REMOVAL AND INSTALLATION ).

Fig 1: Removing/Installing Hands Free Module
G11742915Courtesy of MITSUBISHI MOTOR SALES OF AMERICA.