LEMON Manuals: Even more car manuals for everyone: 1960-2025
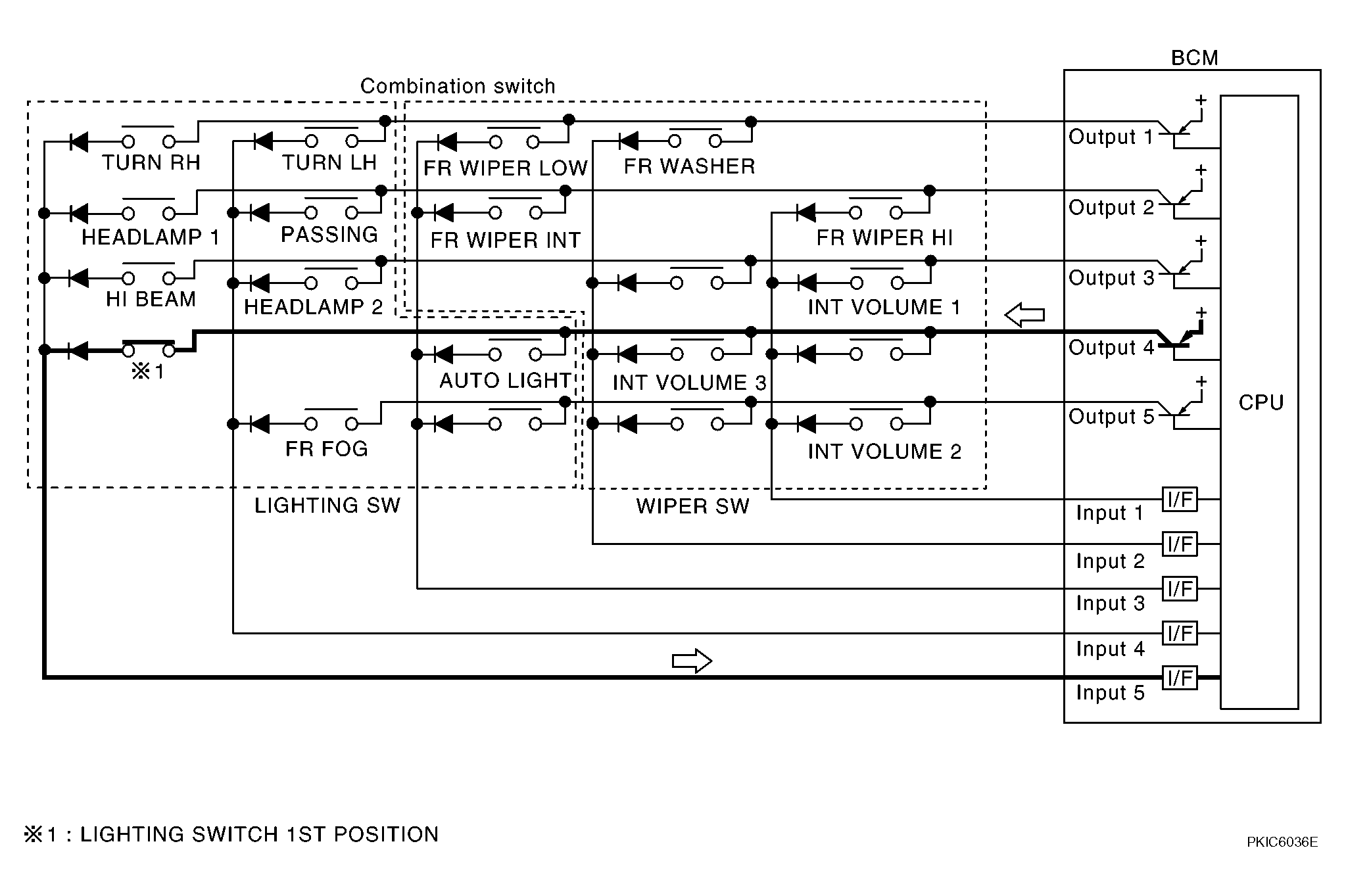
Home >> Nissan-Datsun >> 2002 >> Sentra SE-R, Automatic >> Repair and Diagnosis >> External Pages >> Different car >> Section 1742 (Body Control System (Coupe)) >> BCM (Body Control Module) >> System Description >> Combination Switch Reading Function >> Sample operation: (When lighting switch 1ST position turned ON)
April 5, 2026: LEMON Manuals is launched! Read the announcement.

Sample operation: (When lighting switch 1ST position turned ON)

WARNING: This page is about a different car, the 2006 Infiniti G35. However, it is still accessible from the selected car via links, so may be relevant.