LEMON Manuals: Even more car manuals for everyone: 1960-2025
Home >> Nissan-Datsun >> 2002 >> Sentra SE-R, Standard >> Repair and Diagnosis >> External Pages >> Different car >> Section 1570 (Transfer Case) >> Trouble Diagnosis For System >> Power Supply Circuit For Transfer Control Unit >> Component Inspection
April 5, 2026: LEMON Manuals is launched! Read the announcement.

Component Inspection

WARNING: This page is about a different car, the 2005 Nissan Titan. However, it is still accessible from the selected car via links, so may be relevant.
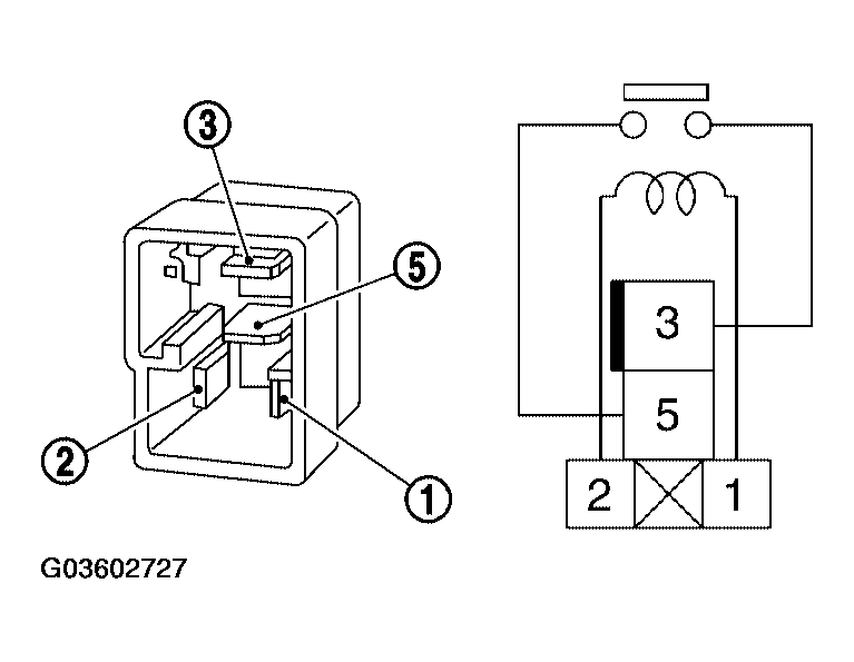
  1. Apply 12V direct current between terminals 1 and 2 of transfer relay 1 and 2.
  2. Check continuity between relay terminals 3 and 5.
    Fig 1: Checking Continuity Between Relay Terminals 3 And 5
    G03602727Courtesy of NISSAN MOTOR CO., U.S.A.
    CONTINUITY BETWEEN RELAY TERMINALS 3 AND 5 REFERENCE

    Condition Continuity
    12V direct current supply between terminals 1 and 2 Yes
    OFF No
  3. If NG, replace the transfer relay 1 or 2. Refer to "LOCATION OF ELECTRICAL PARTS ".