LEMON Manuals: Even more car manuals for everyone: 1960-2025
Home >> Nissan-Datsun >> 2003 >> Sentra SE-R Spec V >> Repair and Diagnosis >> Engine Performance >> System >> Engine Controls - System & Component Testing >> Computerized Engine Controls >> Engine Control Module >> Power & Ground Circuits (Maxima)
April 5, 2026: LEMON Manuals is launched! Read the announcement.

Power & Ground Circuits (Maxima)

  1. Start engine. If engine starts, go to step  11. If engine does not start, go to next step.
  2. Turn ignition off and on. Backprobing at ECM, measure voltage between ground and ECM terminal No. 43 (Red wire). See Figure and Figure . If battery voltage does not exist, go to next step. If battery voltage exists, go to step  4.
  3. Check the following:
    • Check fuse block fuse No. 17 (10-amp).
    • Check for poor, loose, corroded or damaged terminal connections at in-line harness connectors M161 and F68. See ENGINE PERFORMANCE in SYSTEM WIRING DIAGRAMS article in ELECTRICAL.
    • Check for poor, loose, corroded or damaged terminal connections in fuse block harness connectors M19 and E89.
    • Check for open or short in circuits between ECM and ignition switch.
    If problem is found, repair as necessary. After repair, retest system.
  4. Turn ignition off. Disconnect ECM 116-pin harness connector. ECM is located under instrument panel. See Figure. Check continuity between ground and ECM harness connector terminals No. 48, 57, 106 and 108 (Black wires). See Figure. Continuity should exist. Also, check circuits for short to voltage. If problem is found, repair as necessary. After repair, retest system.
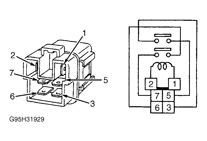
  5. Remove ECM relay from relay panel. See Fig 1. Measure voltage between ground and ECM relay harness connector terminals No. 2 (White/Blue wire) and No. 6 (Purple wire). See Fig 2. If battery voltage does not exist, go to next step. If battery voltage exists, leave harness connectors disconnected and go to step  7.
  6. Check the following:
    • Check fuse block fuses No. 58 and 59 (15-amp).
    • Check for poor, loose, corroded or damaged terminal connections in joint connector-12. See ENGINE PERFORMANCE in SYSTEM WIRING DIAGRAMS article in ELECTRICAL.
    • Check for open or short in circuits between ECM and ECM relay.
    If problem is found, repair as necessary. After repair, retest system.
  7. Check continuity of White/Black wire (changes to White/Red at relay) between ECM harness connector terminal No. 38 and ECM relay harness connector terminal No. 1. See Figure and Fig 2 . Also, check circuit for short to ground and short to voltage. If no problem is found, check ignition signal. Perform appropriate procedure under IGNITION SIGNAL CIRCUITS . If problem is found, go to next step.
  8. Check the following:
    • Check for poor, loose, corroded or damaged terminal connections at in-line harness connectors E15 and F18. See ENGINE PERFORMANCE in SYSTEM WIRING DIAGRAMS article in ELECTRICAL.
    • Check for open or short in circuits between ECM and ECM relay.
    If problem is found, repair as necessary. After repair, retest system.
  9. Turn ignition on, and then off. Backprobing at ECM, measure voltage between ground and ECM terminals No. 31 (Red wires) and then No. 110 and 112 (Red/Green wires). Battery voltage should exist at each terminal for a few seconds after turning ignition off, then drop to about zero volts. If voltage is as specified, go to step  15. If battery voltage does not exist, go to next step. If battery voltage exists for more than a few seconds, go to step  12.
  10. Remove ECM relay from relay panel. See Fig 1. Measure voltage between ground and ECM relay harness connector terminals No. 3 (White/Blue wire). See Fig 2. If battery voltage exists, leave ECM relay disconnected and go to step  12. If battery voltage does not exist, go to next step.
  11. Check the following:
    • Check for poor, loose, corroded or damaged terminal connections in joint connector-12. See ENGINE PERFORMANCE in SYSTEM WIRING DIAGRAMS article in ELECTRICAL.
    • Check for open or short in circuits between ECM relay and fuses.
    If problem is found, repair as necessary. After repair, retest system.
  12. Check continuity of specified circuits between ECM relay and ECM. See CHECKING ECM RELAY CIRCUIT VOLTAGE (MAXIMA)  table. See Figure and Fig 2 . Also, check circuit for short to ground and short to voltage. If problem is found, go to next step. If no problem is found, go to step  14.
    CHECKING ECM RELAY CIRCUIT VOLTAGE (MAXIMA)

    ECM Terminal No. ECM Relay Terminal No. Wire Color
    31 7 Red/White
    110 & 112 5 Red/Green
  13. Check the following:
    • Check for poor, loose, corroded or damaged terminal connections at in-line harness connectors E15 and F18. See ENGINE PERFORMANCE in SYSTEM WIRING DIAGRAMS article in ELECTRICAL.
    • Check for open or short in circuits between ECM relay and ECM.
    If problem is found, repair as necessary. After repair, retest system.
  14. Working with ECM relay, apply battery voltage and ground to terminals No. 1 and 2. See Fig 2. When battery voltage is applied, continuity should exist between terminals No. 3, 5, 6 and 7. When battery voltage is removed, continuity should not exist. If relay tests okay, go to next step. Replace relay, if test values are not as specified.
  15. Turn ignition off. Disconnect ECM 116-pin harness connector. ECM is located under instrument panel. Check continuity between ground and ECM harness connector terminals No. 48, 57, 106 and 108 (Black wires). See Figure. Continuity should exist. Also, check circuits for short to voltage. If problem is found, repair as necessary. After repair, retest system.
  16. No problem is indicated at this time. Problem may be intermittent. See INTERMITTENTS in TROUBLE SHOOTING - NO CODES article.
Fig 1: Locating Engine Control Module Relay (Maxima)
G00051940Courtesy of NISSAN MOTOR CO., U.S.A.
Fig 2: Identifying 6-Pin ECM & Fuel Pump Relay Terminals
G95H31929Courtesy of NISSAN MOTOR CO., U.S.A.