LEMON Manuals: Even more car manuals for everyone: 1960-2025
Home >> Nissan-Datsun >> 2003 >> Sentra SE-R, Automatic >> Repair and Diagnosis >> External Pages >> Different car >> Section 1664 (Automatic Transmission) >> A/T Control System >> TCM Function >> Control System Diagram
April 5, 2026: LEMON Manuals is launched! Read the announcement.

Control System Diagram

WARNING: This page is about a different car, the 2006 Nissan Titan. However, it is still accessible from the selected car via links, so may be relevant.
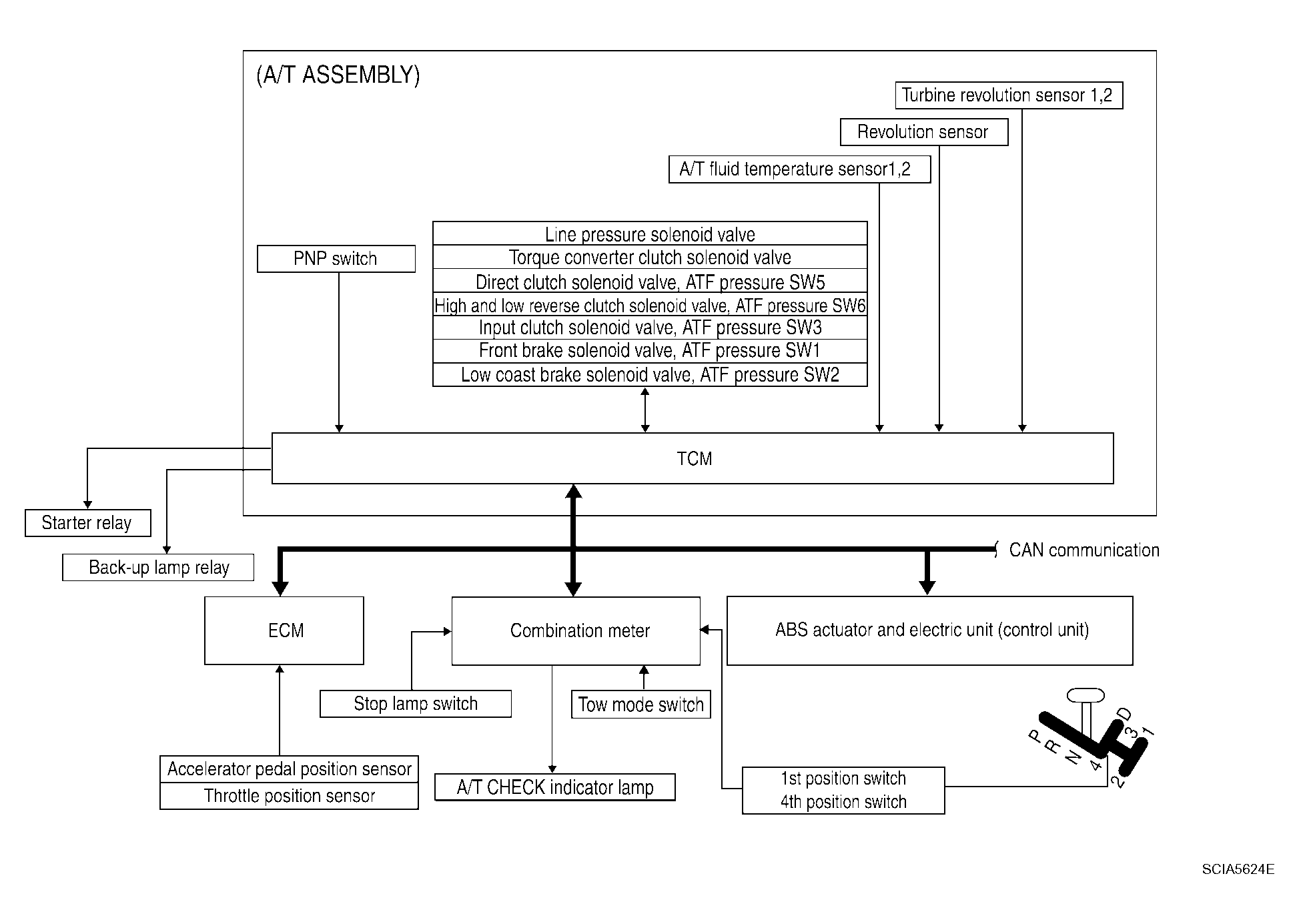
Fig 1: Identifying Control System Diagram
G04185739Courtesy of NISSAN MOTOR CO., U.S.A.


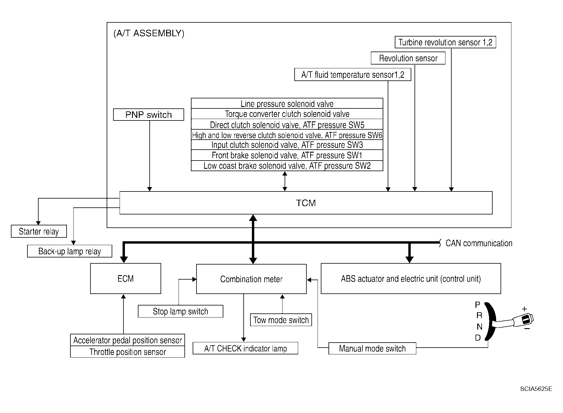
Fig 1: Identifying Control System Diagram
G04185740Courtesy of NISSAN MOTOR CO., U.S.A.